| CAD 模型: | View CAD Model |
| Pkg. Type: | CABGA |
| Pkg. Code: | BYG100 |
| Lead Count (#): | 100 |
| Pkg. Dimensions (mm): | 6.0 x 6.0 x 1.0 |
| Pitch (mm): | 0.5 |
| Pb (Lead) Free | Yes |
| Moisture Sensitivity Level (MSL) | 3 |
| ECCN (US) | |
| HTS (US) |
| Pkg. Type | CABGA |
| Lead Count (#) | 100 |
| Pb (Lead) Free | Yes |
| Carrier Type | Tray |
| Access Time (ns) | 65 |
| Architecture | Dual-Port |
| Bus Width (bits) | 16 |
| Core Voltage (V) | 1.8 |
| Density (Kb) | 256 |
| Function | Busy, Interrupt, Std. SRAM Interface, ADM Interface, Output Drive Register |
| I/O Type | 1.8V LVCMOS, 2.5V LVCMOS, 3.0V LVTTL |
| Interface | Async |
| Length (mm) | 6 |
| MOQ | 90 |
| Moisture Sensitivity Level (MSL) | 3 |
| Organization | 16K x 16 |
| Package Area (mm²) | 36 |
| Pb Free Category | e1 SnAgCu |
| Pitch (mm) | 0.5 |
| Pkg. Dimensions (mm) | 6.0 x 6.0 x 1.0 |
| Qty. per Carrier (#) | 360 |
| Qty. per Reel (#) | 0 |
| Requires Terms and Conditions | Does not require acceptance of Terms and Conditions |
| Tape & Reel | No |
| Temp. Range (°C) | -40 to 85°C |
| Thickness (mm) | 1 |
| Width (mm) | 6 |
| 已发布 | No |
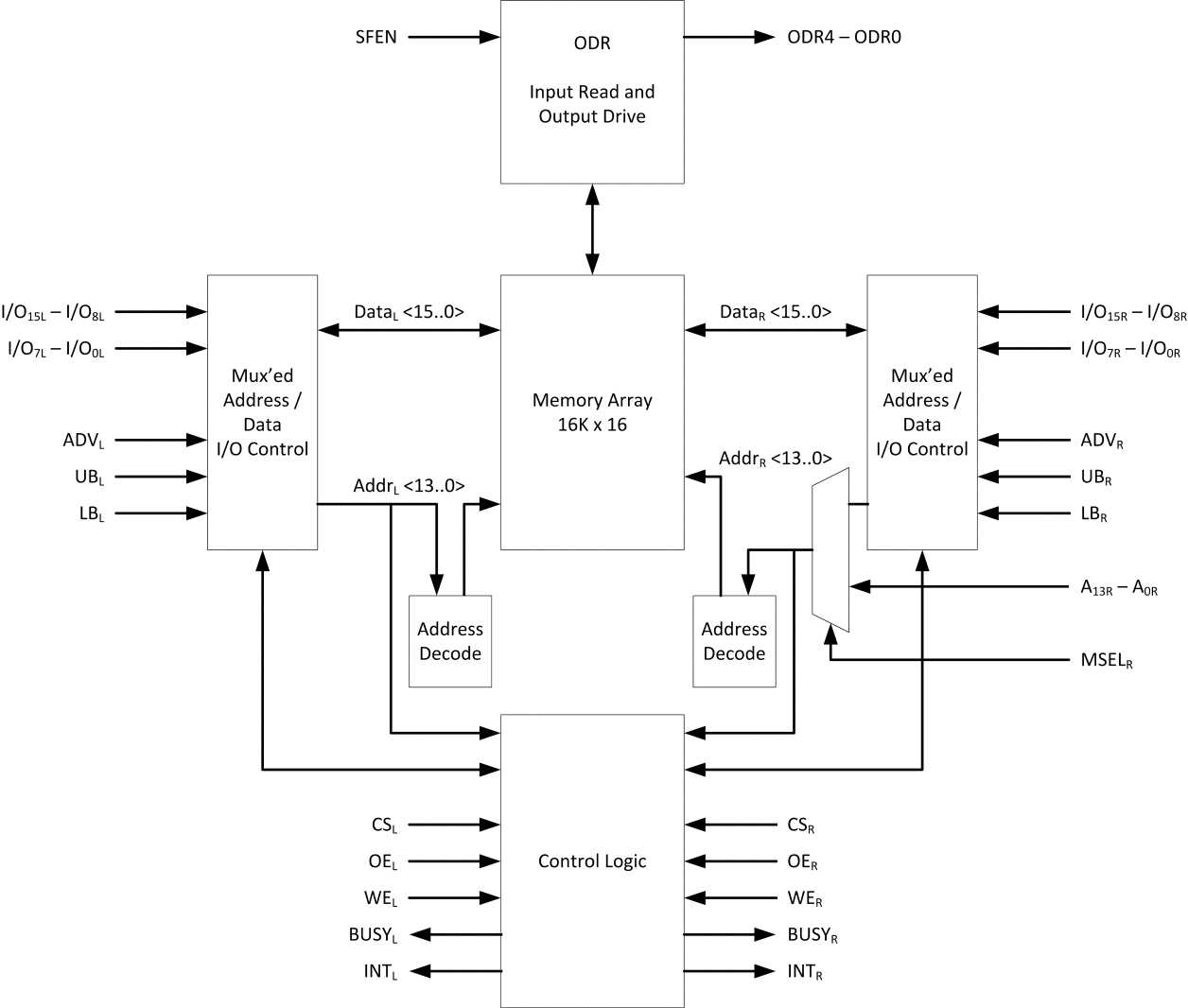
The IDT70P265 is a very low power 16K x 16 Dual-Port Static RAM. The IDT70P265 is designed to be used as a stand-alone 256K-bit Dual-Port SRAM. This device provides two independent ports with separate control, address, and I/O pins that permit independent, asynchronous access for reads or writes to any location in memory. An automatic power down feature controlled by CS permits the on-chip circuitry of each port to enter a very low standby power mode.
Fabricated using IDT's CMOS high-performance technology, these devices typically operate on only 27mW of power.