| CAD 模型: | View CAD Model |
| Pkg. Type: | SB |
| Pkg. Code: | SB48 |
| Lead Count (#): | 48 |
| Pkg. Dimensions (mm): | 61.72 x 15.24 x 3.3 |
| Pitch (mm): | 2.54 |
| Pb (Lead) Free | No |
| Moisture Sensitivity Level (MSL) | 1 |
| ECCN (US) | |
| HTS (US) |
| Lead Count (#) | 48 |
| Pb (Lead) Free | No |
| Carrier Type | Tube |
| Moisture Sensitivity Level (MSL) | 1 |
| Access Time (ns) | 55 |
| Architecture | Dual-Port |
| Bus Width (bits) | 8 |
| Core Voltage (V) | 5 |
| Density (Kb) | 16 |
| Function | Busy, Master |
| I/O Type | 5.0 V TTL |
| Interface | Async |
| Length (mm) | 61.72 |
| MOQ | 40 |
| Organization | 2K x 8 |
| Package Area (mm²) | 940.6 |
| Pb Free Category | e0 |
| Pitch (mm) | 2.54 |
| Pkg. Dimensions (mm) | 61.72 x 15.24 x 3.3 |
| Pkg. Type | SB |
| Qty. per Carrier (#) | 8 |
| Qty. per Reel (#) | 0 |
| Requires Terms and Conditions | Does not require acceptance of Terms and Conditions |
| Tape & Reel | No |
| Temp. Range (°C) | 0 to 70°C |
| Thickness (mm) | 3.3 |
| Width (mm) | 15.24 |
| 已发布 | No |
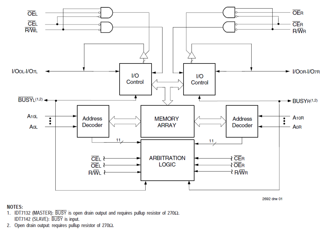
The 7132 is a high-speed 2K x 8 Dual-Port Static RAM designed to be used as a stand-alone 8-bit Dual-Port RAM or as a "MASTER" Dual-Port RAM together with the 7142 "SLAVE" Dual-Port in 16-bit-or-more word width systems which would result in full-speed, error free operation without the need for additional discrete logic. An automatic power down feature, controlled by CE, permits the on chip circuitry of each port to enter a very low standby power mode. Military grade product in compliance with MIL-PRF-38535 QML is available.