跳转到主要内容
瑞萨电子 (Renesas Electronics Corporation)

特性

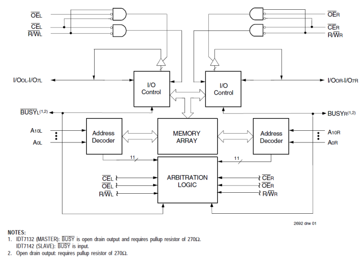
  • True Dual-Ported memory cells which allow simultaneous access of the same memory location
  • BUSY input flag
  • Battery backup operation–2V data retention (LA only)
  • TTL-compatible, single 5V ±10% power supply
  • Available in 48-pin DIP, LCC and Ceramic Flatpack, and 52-pin PLCC packages
  • Industrial temperature range (–40C to +85C) is available

描述

The 7142 is a high-speed 2K x 8 Dual-Port Static RAM designed to be used as a "SLAVE" Dual-Port RAM together with the 7132 "MASTER" Dual-Port in 16-bit-or-more word width systems which would result in full-speed, error free operation without the need for additional discrete logic. An automatic power down feature, controlled by CE, permits the on chip circuitry of each port to enter a very low standby power mode. Military grade product in compliance with MIL-PRF-38535 QML is available.

当前筛选条件