跳转到主要内容
瑞萨电子 (Renesas Electronics Corporation)
2K x 8 Dual-Port RAM w/Int

封装信息

CAD 模型:View CAD Model
Pkg. Type:PLCC
Pkg. Code:PL52
Lead Count (#):52
Pkg. Dimensions (mm):19.0 x 19.0 x 3.63
Pitch (mm):1.27

环境和出口类别

Pb (Lead) FreeNo
Moisture Sensitivity Level (MSL)3
ECCN (US)
HTS (US)

产品属性

Lead Count (#)52
Pb (Lead) FreeNo
Carrier TypeTube
Moisture Sensitivity Level (MSL)3
Access Time (ns)20
ArchitectureDual-Port
Bus Width (bits)8
Core Voltage (V)5
Density (Kb)16
FunctionBusy, Interrupt, Slave
I/O Type5.0 V TTL
InterfaceAsync
Length (mm)19
MOQ240
Organization2K x 8
Package Area (mm²)361
Pb Free Categorye0
Pitch (mm)1.27
Pkg. Dimensions (mm)19.0 x 19.0 x 3.63
Pkg. TypePLCC
Qty. per Carrier (#)24
Qty. per Reel (#)0
Requires Terms and ConditionsDoes not require acceptance of Terms and Conditions
Tape & ReelNo
Temp. Range (°C)0 to 70°C
Thickness (mm)3.63
Width (mm)19

描述

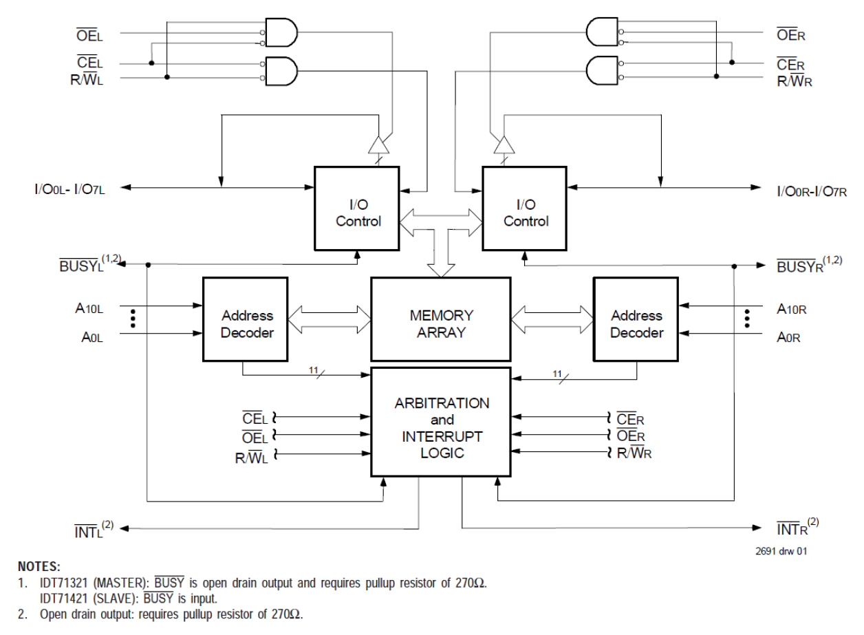
The 71421 is a high-speed 2K x 8 Dual-Port Static RAM with internal interrupt logic for interprocessor communications. It is designed to be used as a "SLAVE" Dual-Port RAM together with the 71321 "MASTER" Dual-Port in 16-bit-or-more word width systems which would result in full-speed, error free operation without the need for additional discrete logic. An automatic power down feature, controlled by CE, permits the on chip circuitry of each port to enter a very low standby power mode.