跳转到主要内容
512 x 18 DualSync FIFO, 5.0V

封装信息

CAD 模型: View CAD Model
Pkg. Type: TQFP
Pkg. Code: PK128
Lead Count (#): 128
Pkg. Dimensions (mm): 20.0 x 14.0 x 1.4
Pitch (mm): 0.5

环境和出口类别

Pb (Lead) Free No
Moisture Sensitivity Level (MSL) 3
ECCN (US)
HTS (US)

产品属性

Lead Count (#) 128
Pb (Lead) Free No
Carrier Type Reel
Architecture Dual FIFO
Bus Width (bits) 18
Core Voltage (V) 5
Density (Kb) 9
Family Name DualSync
I/O Frequency (MHz) 100 - 100
I/O Type 5.0 V TTL
Interface Synchronous
Length (mm) 20
MOQ 1000
Moisture Sensitivity Level (MSL) 3
Organization 512 x 18
Package Area (mm²) 280
Pb Free Category e0
Pitch (mm) 0.5
Pkg. Dimensions (mm) 20.0 x 14.0 x 1.4
Pkg. Type TQFP
Qty. per Carrier (#) 0
Qty. per Reel (#) 1000
Reel Size (in) 13
Requires Terms and Conditions Does not require acceptance of Terms and Conditions
Tape & Reel Yes
Temp. Range (°C) 0 to 70°C
Thickness (mm) 1.4
Width (mm) 14
已发布 No

描述

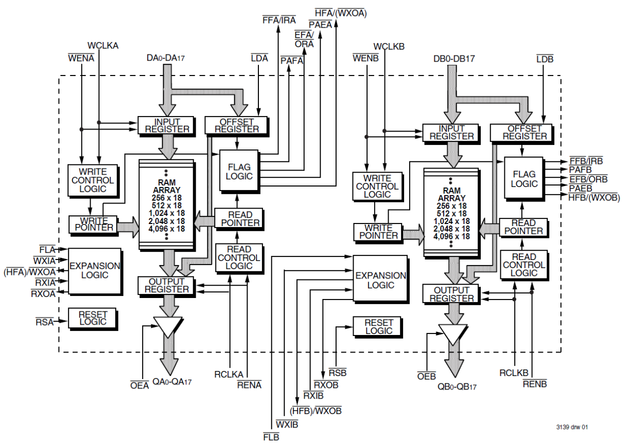
The 72815 is a 512 x 18 First-In, First-Out memory with clocked read and write controls. It is functionally equivalent to two 72215 FIFOs in a single package with all associated control, data, and flag lines assigned to independent pins and would be applicable for a wide variety of data buffering needs, such as optical disk controllers, Local Area Networks (LANs), and interprocessor communication. Each of the two FIFOs has an 18-bit input and output port. The Read Clock can be tied to the Write Clock for single clock operation or the two clocks can run asynchronous of one another for dual-clock operation.