跳转到主要内容
瑞萨电子 (Renesas Electronics Corporation)

特性

  • Functionally and pin compatible to 9Mbit 72T36125
  • User selectable HSTL/LVTTL Input and/or Output
  • User selectable Asynchronous read and/or write port timing
  • Program programmable flags by either serial or parallel means
  • Auto power down minimizes standby power consumption
  • Master Reset clears entire FIFO
  • Partial Reset clears data, but retains programmable settings
  • Empty and Full flags signal FIFO status
  • Output enable puts data outputs into high impedance state
  • JTAG port, provided for Boundary Scan function
  • Available in 240-pin PBGA package
  • Independent Read and Write Clocks (permit reading and writing simultaneously)
  • Industrial temperature range (–40C to +85C) is available

描述

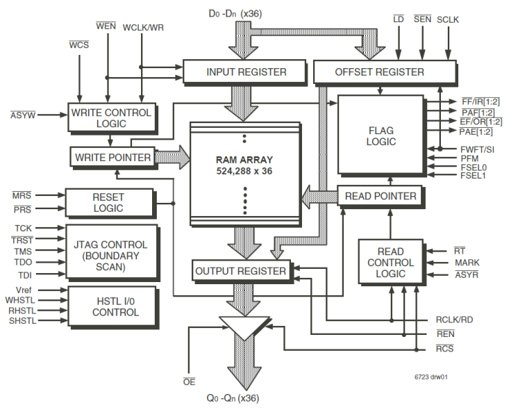
The 72T36135M is a 512K x 36 TeraSync 2.5V FIFO memory with clocked read and write controls and a wide extended x 36 bus to allow ample data flow. TeraSync FIFOs are particularly appropriate for network, video, telecommunications, data communications and other applications that need to buffer large amounts of data at very high performance. There are two possible timing modes of operation with these devices: IDT Standard mode and First Word Fall Through mode.

当前筛选条件