| CAD 模型: | View CAD Model |
| Pkg. Type: | CABGA |
| Pkg. Code: | BC100 |
| Lead Count (#): | 100 |
| Pkg. Dimensions (mm): | 11.0 x 11.0 x 1.4 |
| Pitch (mm): | 1 |
| Pb (Lead) Free | No |
| Moisture Sensitivity Level (MSL) | 3 |
| ECCN (US) | |
| HTS (US) |
| Lead Count (#) | 100 |
| Pb (Lead) Free | No |
| Carrier Type | Tray |
| Moisture Sensitivity Level (MSL) | 3 |
| Architecture | Uni-directional |
| Bus Width (bits) | 18 |
| Core Voltage (V) | 3.3 |
| Density (Kb) | 72 |
| Family Name | SuperSync II |
| Function | Bus Matching, JTAG |
| I/O Frequency (MHz) | 166 - 166 |
| I/O Type | 3.3 V LVTTL |
| Interface | Synchronous |
| Length (mm) | 11 |
| MOQ | 100 |
| Organization | 4K x 18, 8K x 9 |
| Package Area (mm²) | 121 |
| Pb Free Category | e0 |
| Pitch (mm) | 1 |
| Pkg. Dimensions (mm) | 11.0 x 11.0 x 1.4 |
| Pkg. Type | CABGA |
| Price (USD) | $47.8979 |
| Qty. per Carrier (#) | 168 |
| Qty. per Reel (#) | 0 |
| Requires Terms and Conditions | Does not require acceptance of Terms and Conditions |
| Tape & Reel | No |
| Temp. Range (°C) | 0 to 70°C |
| Thickness (mm) | 1.4 |
| Width (mm) | 11 |
| 已发布 | No |
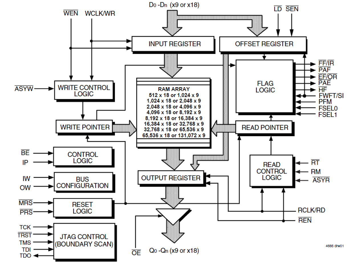
The 72V253 8K x 9/4K x 18 SuperSync II FIFO memory has flexible x9/x18 bus-matching on both read and write ports. The variable clock cycle counting delay associated with the latency period found on previous SuperSync devices has been eliminated. SuperSync II FIFOs are appropriate for network, video, telecommunications, data communications, and other applications that need to buffer large amounts of data and match buses of unequal sizes.