特性
- Pin-compatible with the SuperSync II 72V36x0 family
- Up to 166MHz operation of the clocks
- User-selectable asynchronous read and/or write ports (PBGA only)
- User-selectable input and output port bus-sizing
- 5V input tolerant
- Auto power-down minimizes standby power consumption
- Master Reset clears the entire FIFO
- Partial Reset clears the data, but retains programmable settings
- Easily expandable in depth and width
- JTAG port, provided for Boundary Scan function (PBGA only)
- Independent Read and Write clocks
- Available in 128-pin TQFP or 144-pin PBGA packages
- Industrial temperature range (–40 °C to +85 °C) is available
描述
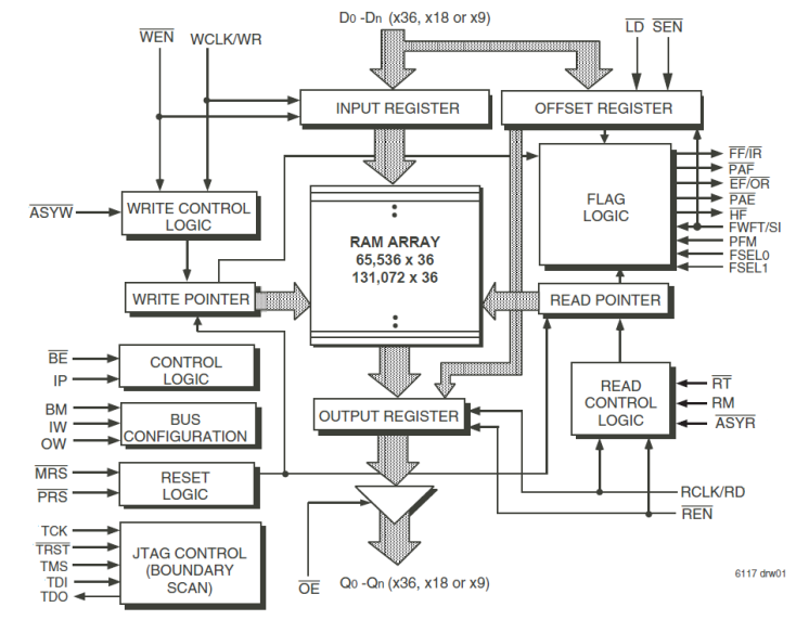
The 72V36110 128K x 36 SuperSync II FIFO memory with clocked read and write controls offers flexible bus-matching x36/x18/x9 data flow and asynchronous/synchronous translation on the read or write ports. SuperSync II FIFOs are appropriate for network, video, telecommunications, data communications, and other applications that need to buffer large amounts of data and match buses of unequal sizes.
产品参数
| 属性 | 值 |
|---|---|
| Core Voltage (V) | 3.3 |
| Bus Width (bits) | 36 |
| Density (Kb) | 4096 |
| Pkg. Code | PKG128 |
| Interface | Synchronous |
| I/O Type | 3.3 V LVTTL |
| I/O Frequency (MHz) | 133 - 133, 166 - 166 |
| Organization | 128K x 36 |
| Temp. Range (°C) | -40 to 85°C, 0 to 70°C |
| Architecture | Uni-directional |
封装选项
| Pkg. Type | Pkg. Dimensions (mm) | Lead Count (#) | Pitch (mm) |
|---|---|---|---|
| TQFP | 20.0 x 14.0 x 1.4 | 128 | 0.5 |
当前筛选条件
加载中