| CAD 模型: | View CAD Model |
| Pkg. Type: | PBGA |
| Pkg. Code: | BB144 |
| Lead Count (#): | 144 |
| Pkg. Dimensions (mm): | 13.0 x 13.0 x 1.76 |
| Pitch (mm): | 1 |
| Pb (Lead) Free | No |
| Moisture Sensitivity Level (MSL) | 3 |
| ECCN (US) | |
| HTS (US) |
| Lead Count (#) | 144 |
| Pb (Lead) Free | No |
| Carrier Type | Tray |
| Moisture Sensitivity Level (MSL) | 3 |
| Architecture | Uni-directional |
| Bus Width (bits) | 36 |
| Core Voltage (V) | 3.3 |
| Density (Kb) | 288 |
| Family Name | SuperSync II |
| Function | Bus Matching, JTAG |
| I/O Frequency (MHz) | 133 - 133 |
| I/O Type | 3.3 V LVTTL |
| Interface | Synchronous |
| Length (mm) | 13 |
| MOQ | 50 |
| Organization | 8K x 36 |
| Package Area (mm²) | 169 |
| Pb Free Category | e0 |
| Pitch (mm) | 1 |
| Pkg. Dimensions (mm) | 13.0 x 13.0 x 1.76 |
| Pkg. Type | PBGA |
| Qty. per Carrier (#) | 160 |
| Qty. per Reel (#) | 0 |
| Requires Terms and Conditions | Does not require acceptance of Terms and Conditions |
| Tape & Reel | No |
| Temp. Range (°C) | 0 to 70°C |
| Thickness (mm) | 1.76 |
| Width (mm) | 13 |
| 已发布 | No |
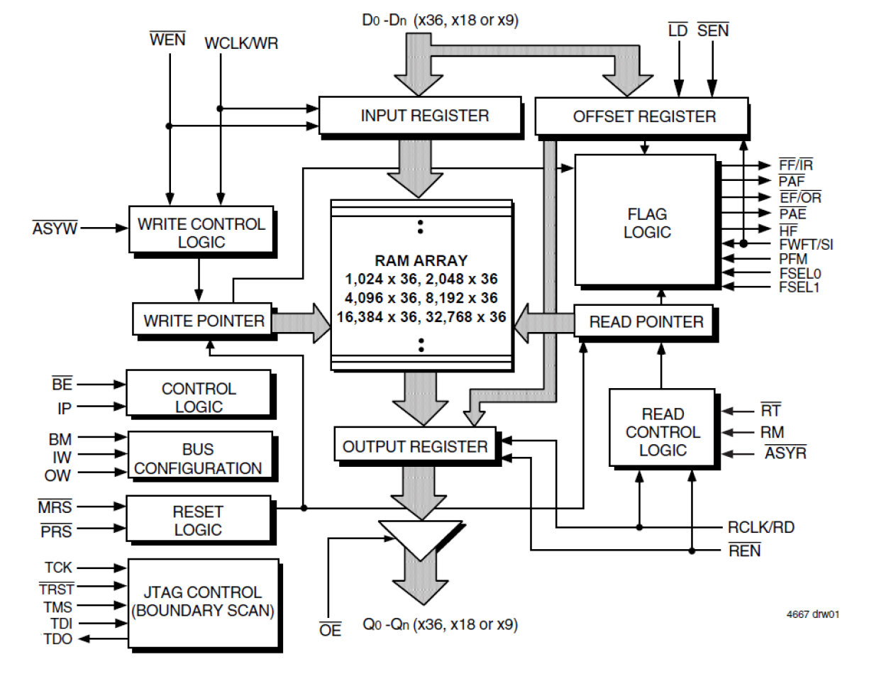
The 72V3670 8K x 36 SuperSync II FIFO memory with clocked read and write controls offers flexible Bus-Matching x36/x18/x9 data flow and Asynchronous/Synchronous translation on the read or write ports ; SuperSync II FIFO's are appropriate for network, video, telecommunications, data communications and other applications that need to buffer large amounts of data and match busses of unequal sizes.