| CAD 模型: | View CAD Model |
| Pkg. Type: | TSSOP |
| Pkg. Code: | PA56 |
| Lead Count (#): | 56 |
| Pkg. Dimensions (mm): | 14.0 x 6.1 x 1.0 |
| Pitch (mm): | 0.5 |
| Pb (Lead) Free | No |
| Moisture Sensitivity Level (MSL) | 1 |
| ECCN (US) | |
| HTS (US) |
| Lead Count (#) | 56 |
| Pb (Lead) Free | No |
| Carrier Type | Tube |
| Access Time (ns) | 15 |
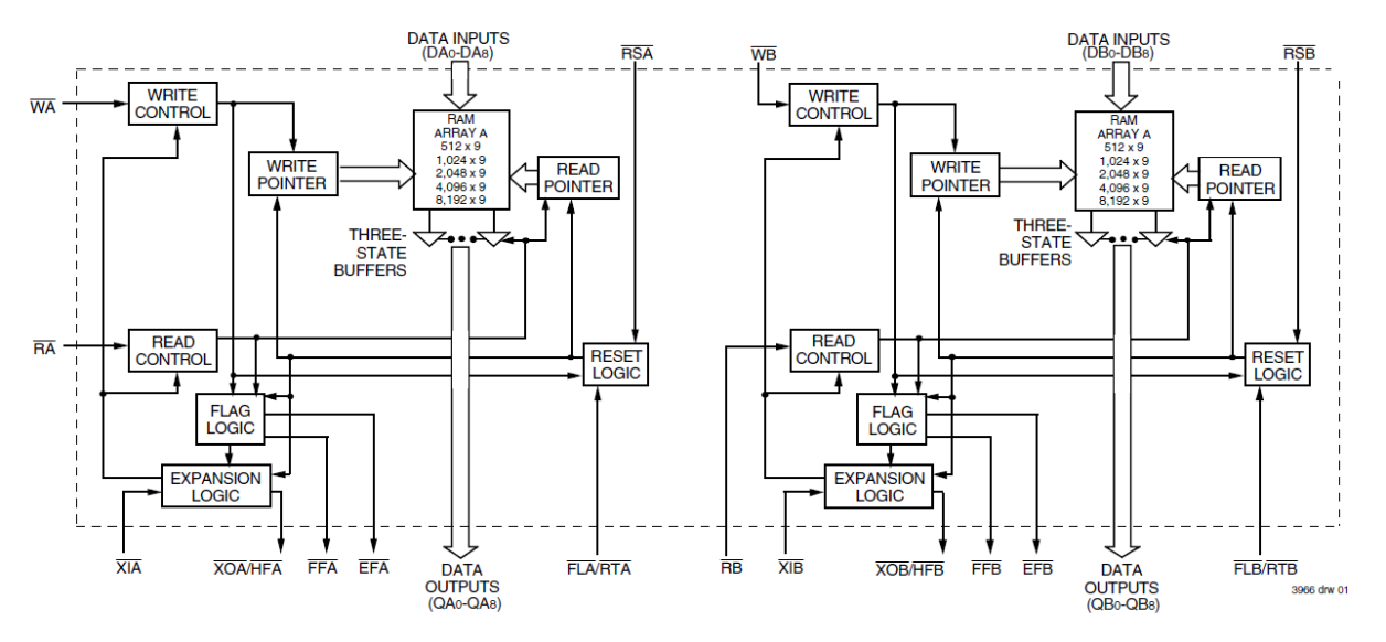
| Architecture | Dual FIFO |
| Bus Width (bits) | 9 |
| Core Voltage (V) | 3.3 |
| Density (Kb) | 4 |
| Family Name | DualAsync |
| I/O Type | 3.3 V LVTTL |
| Interface | Asynchronous |
| Length (mm) | 14 |
| MOQ | 68 |
| Moisture Sensitivity Level (MSL) | 1 |
| Organization | 512 x 9 |
| Package Area (mm²) | 85.4 |
| Pb Free Category | e0 |
| Pitch (mm) | 0.5 |
| Pkg. Dimensions (mm) | 14.0 x 6.1 x 1.0 |
| Pkg. Type | TSSOP |
| Qty. per Carrier (#) | 34 |
| Qty. per Reel (#) | 0 |
| Requires Terms and Conditions | Does not require acceptance of Terms and Conditions |
| Tape & Reel | No |
| Temp. Range (°C) | 0 to 70°C |
| Thickness (mm) | 1 |
| Width (mm) | 6.1 |
| 已发布 | No |
The 72V81 is a dual-FIFO memory that loads and empties data on a first-in/first-out basis. It utilizes a 9-bit wide data array to allow for control and parity bits at the user's option. This is useful in data communications applications where a parity bit is needed for transmission/reception error checking. It is designed for those applications requiring asynchronous and simultaneous read/writes in multiprocessing and rate buffer applications.