| CAD 模型: | View CAD Model |
| Pkg. Type: | TQFP |
| Pkg. Code: | PP64 |
| Lead Count (#): | 64 |
| Pkg. Dimensions (mm): | 10.0 x 10.0 x 1.4 |
| Pitch (mm): | 0.5 |
| Pb (Lead) Free | No |
| Moisture Sensitivity Level (MSL) | 3 |
| ECCN (US) | |
| HTS (US) |
| Lead Count (#) | 64 |
| Pb (Lead) Free | No |
| Carrier Type | Tray |
| Moisture Sensitivity Level (MSL) | 3 |
| Architecture | Dual FIFO |
| Bus Width (bits) | 9 |
| Core Voltage (V) | 3.3 |
| Density (Kb) | 72 |
| Family Name | DualSync |
| I/O Frequency (MHz) | 66 - 66 |
| I/O Type | 3.3 V LVTTL |
| Interface | Synchronous |
| Length (mm) | 10 |
| MOQ | 80 |
| Organization | 8K x 9 |
| Package Area (mm²) | 100 |
| Pb Free Category | e0 |
| Pitch (mm) | 0.5 |
| Pkg. Dimensions (mm) | 10.0 x 10.0 x 1.4 |
| Pkg. Type | TQFP |
| Qty. per Carrier (#) | 160 |
| Qty. per Reel (#) | 0 |
| Requires Terms and Conditions | Does not require acceptance of Terms and Conditions |
| Tape & Reel | No |
| Temp. Range (°C) | -40 to 85°C |
| Thickness (mm) | 1.4 |
| Width (mm) | 10 |
| 已发布 | No |
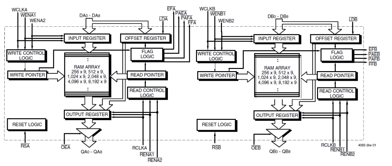
The 72V851 is an 8K x 9 dual synchronous FIFO that is functionally equivalent to two 72V251 FIFOs in a single package with all associated control, data, and flag lines assigned to separate pins. Each FIFO has a 9-bit input and output data port. The Read Clock can be tied to the Write Clock for single clock operation or the two clocks can run asynchronously of one another for dual clock operation.