跳转到主要内容

特性

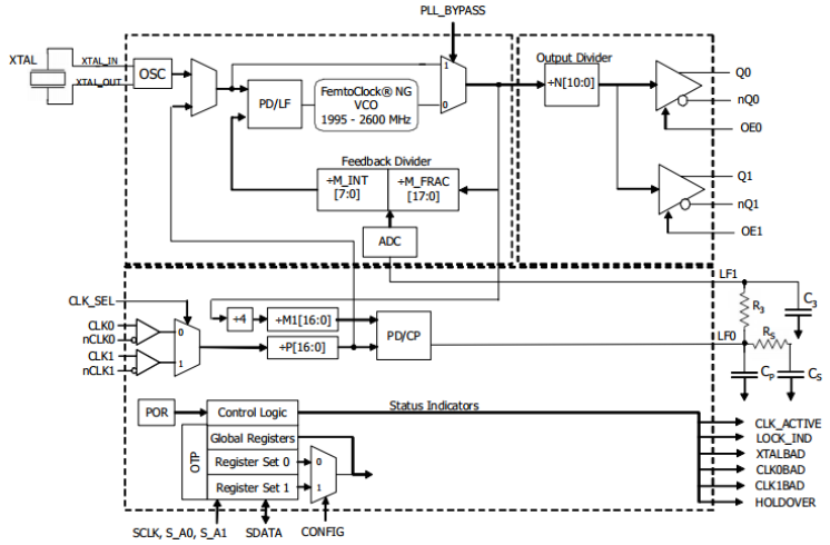
  • 4TH generation FemtoClock® NG technology
  • Universal Frequency Translator (UFT) / Frequency Synthesizer
  • Two outputs, individually programmable as LVPECL or LVDS
    Both outputs may be set to use 2.5V or 3.3V output levels
    Programmable output frequency: 0.98MHz up to 1,300MHz
  • Zero ppm frequency translation
  • Two differential inputs support the following input types:LVPECL, LVDS, LVHSTL, HCSL
  • Input frequency range: 8kHz - 710MHz
  • Crystal input frequency range: 16MHz - 40MHz
  • Two factory-set register configurations for power-up default state
    Power-up default configuration pin or register selectable
    Configurations customized via One-Time Programmable ROM
    Settings may be overwritten after power-up via I2C
    I2C Serial interface for register programming
  • RMS phase jitter at 125MHz, using a 40MHz crystal(12kHz - 20MHz): 510fs (typical), Low Bandwidth Mode (FracN)
  • RMS phase jitter at 400MHz, using a 40MHz crystal(12kHz - 40MHz): 321fs (typical), Synthesizer Mode (Integer FB)
  • Output supply voltage modes:
    VCC/VCCA/VCCO
    3.3V/3.3V/3.3V
    3.3V/3.3V/2.5V (LVPECL only)
    2.5V/2.5V/2.5V
  • -40°C to 85°C ambient operating temperature
  • Available in lead-free (RoHS 6) package

描述

The 849N202I is a highly flexible FemtoClock® NG general purpose, low phase noise Universal Frequency Translator™ / Synthesizer with alarm and monitoring functions suitable for networking and communications applications. It is able to generate any output frequency in the 0.98MHz - 312.5MHz range and most output frequencies in the 312.5MHz - 1,300MHz range (see Table 3 for details). A wide range of input reference clocks and a range of low-cost fundamental mode crystal frequencies may be used as the source for the output frequency.

The 849N202I has three operating modes to support a very broad spectrum of applications.

To see other devices in this product family, visit the Universal Frequency Translators page.

当前筛选条件