| CAD 模型: | View CAD Model |
| Pkg. Type: | VFQFPN |
| Pkg. Code: | NLG40 |
| Lead Count (#): | 40 |
| Pkg. Dimensions (mm): | 6.0 x 6.0 x 0.9 |
| Pitch (mm): | 0.5 |
| Moisture Sensitivity Level (MSL) | 3 |
| Pb (Lead) Free | Yes |
| ECCN (US) | EAR99 |
| HTS (US) | 8542.39.0090 |
| Lead Count (#) | 40 |
| Carrier Type | Tray |
| Moisture Sensitivity Level (MSL) | 3 |
| Pb (Lead) Free | Yes |
| Pb Free Category | e3 Sn |
| Temp. Range (°C) | -40 to 85°C |
| Advanced Features | Programmable Clock, Spread Spectrum |
| C-C Jitter Max P-P (ps) | 40 |
| Core Voltage (V) | 3.3V, 2.5V |
| Divider Value | 2 |
| Family Name | UFT |
| Feedback Divider | 1 - 255 |
| Feedback Input | No |
| Input Freq (MHz) | 0.008 - 710 |
| Input Type | Crystal, HCSL, HSTL, LVDS, LVPECL |
| Inputs (#) | 3 |
| Length (mm) | 6 |
| MOQ | 490 |
| Output Banks (#) | 1 |
| Output Freq Range (MHz) | 0.98 - 1300 |
| Output Signaling | LVPECL, LVDS |
| Output Skew (ps) | 30 |
| Output Type | LVPECL, LVDS |
| Output Voltage (V) | 3.3V, 2.5V |
| Outputs (#) | 2 |
| Package Area (mm²) | 36 |
| Period Jitter Max P-P (ps) | 8.7 |
| Period Jitter Typ P-P (ps) | 5.1 |
| Phase Jitter Max RMS (ps) | 0.446 |
| Phase Jitter Typ RMS (fs) | 285 |
| Phase Jitter Typ RMS (ps) | 0.285 |
| Pitch (mm) | 0.5 |
| Pkg. Dimensions (mm) | 6.0 x 6.0 x 0.9 |
| Pkg. Type | VFQFPN |
| Prog. Clock | Yes |
| Prog. Interface | I2C |
| Qty. per Carrier (#) | 490 |
| Qty. per Reel (#) | 0 |
| Reference Output | No |
| Requires Terms and Conditions | Does not require acceptance of Terms and Conditions |
| Spread Spectrum | Yes |
| Tape & Reel | No |
| Thickness (mm) | 0.9 |
| VCO Max Freq (MHz) | 2600 |
| VCO Min Freq (MHz) | 1995 |
| Width (mm) | 6 |
| Xtal Freq (KHz) | 16 - 40 |
| Xtal Inputs (#) | 1 |
| 已发布 | No |
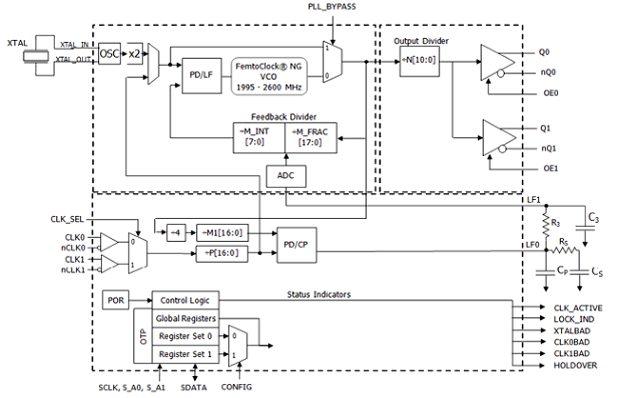
The 8T49N203I is a highly flexible FemtoClock™ NG general purpose, low phase noise Universal Frequency Translator/Synthesizer with alarm and monitoring function suitable for networking and communications applications. The 8T49N203I has three operating modes to support a very broad spectrum of applications: frequency Synthesizer, high-bandwidth frequency translator, and low-bandwidth frequency translator. This device provides two factory-programmed default power-up configurations burned into One-Time Programmable (OTP) memory. The two configurations are specified by the customer and are programmed by Renesas during the final test phase from an on-hand stock of blank devices.
To see other devices in this product family, visit the Universal Frequency Translators page.