跳转到主要内容

特性

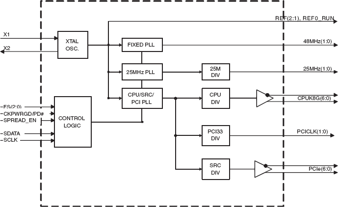
  • 7 - Pairs of AMD Low Power K8 Greyhound compliant clocks
  • 7 - Pair of SRC/PCI Express* Gen 2 clocks
  • 3 - 14.318 MHz REF clocks including 1 free-running
  • 2 - 48MHz clocks
  • 2 - PCI 33 MHz clocks
  • 2 - 25MHz clocks
  • Spread Spectrum for EMI reduction
  • Outputs may be disabled via SMBus
  • M/N programming via SMBus
  • PCIe clocks meet PCIe Gen 2.
  • Low Power differential outputs

描述

The 932S825 is a main clock synthesizer chip that all clocks required by Serverworks HT2400-based servers. An SMBus interface allows full control of the device.

当前筛选条件