跳转到主要内容
瑞萨电子 (Renesas Electronics Corporation)
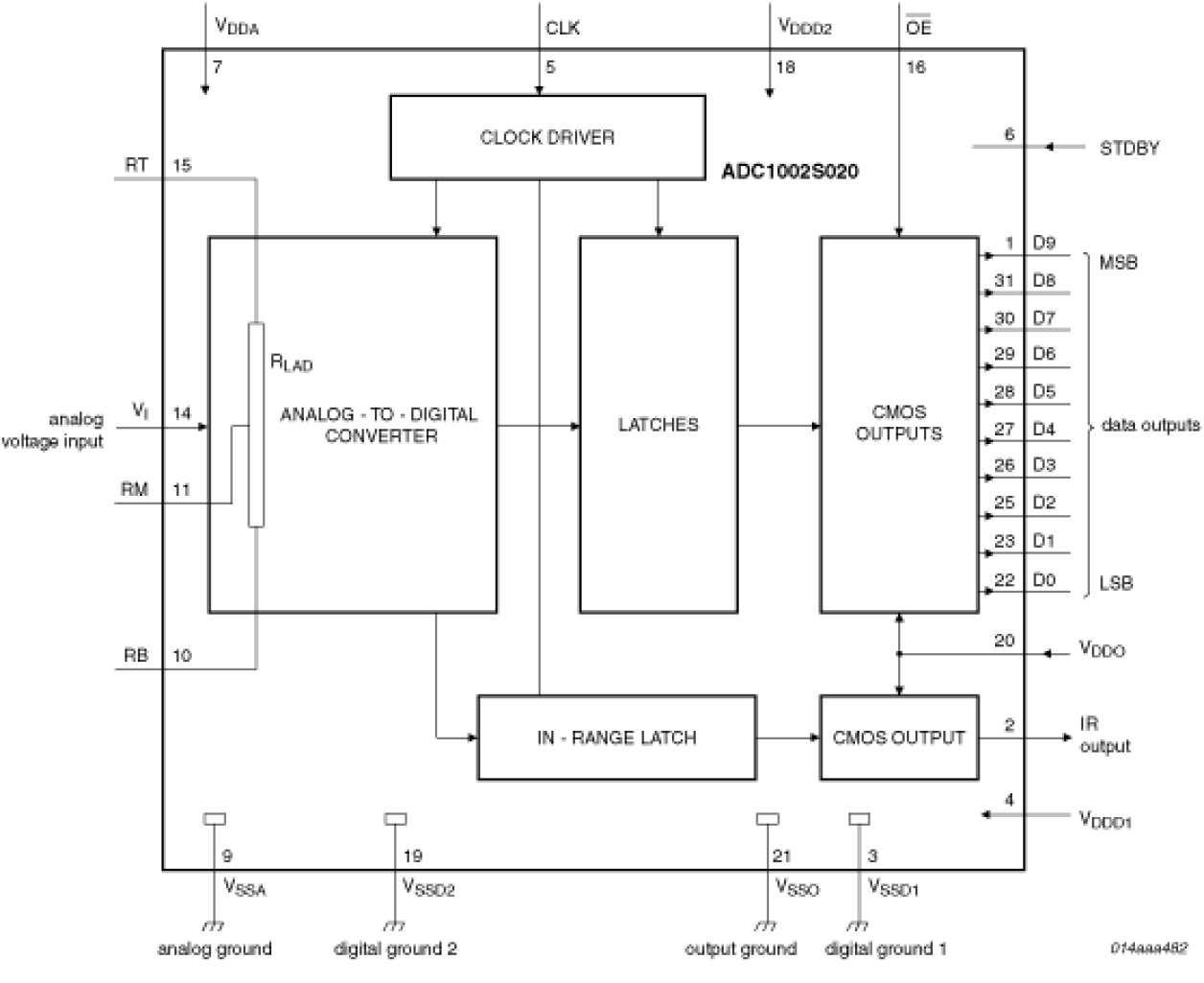
Single 10 bits ADC, up to 20 MHz

封装信息

CAD 模型:View CAD Model
Pkg. Type:TQFP
Pkg. Code:EFG32
Lead Count (#):32
Pkg. Dimensions (mm):5.0 x 5.0 x 1.4
Pitch (mm):0.5

环境和出口类别

Pb (Lead) FreeYes
Moisture Sensitivity Level (MSL)1
ECCN (US)
HTS (US)

产品属性

Pkg. TypeTQFP
Lead Count (#)32
Pb (Lead) FreeYes
Carrier TypeTray
Channels (#)1
Length (mm)5
MOQ360
Moisture Sensitivity Level (MSL)1
Package Area (mm²)25
Pb Free Categorye3 Sn
Pitch (mm)0.5
Pkg. Dimensions (mm)5.0 x 5.0 x 1.4
Power Consumption Typ (mW)53
Qty. per Carrier (#)360
Qty. per Reel (#)0
Requires Terms and ConditionsDoes not require acceptance of Terms and Conditions
Resolution (bits)10
Supply Voltage (V)3 - 3, 5 - 5
Tape & ReelNo
Temp. Range (°C)-40 to 85°C
Thickness (mm)1.4
Width (mm)5

描述

The ADC1002S020 is a 10-bit high-speed Analog-to-Digital Converter (ADC) for professional video and other applications. It converts with 3.0 V to 5.25 V operation the analog input signal into 10-bit binary-coded digital words at a maximum sampling rate of 20 MHz. All digital inputs and outputs are CMOS compatible. A standby mode allows a reduction of the device power consumption to 4 mW.