跳转到主要内容
瑞萨电子 (Renesas Electronics Corporation)
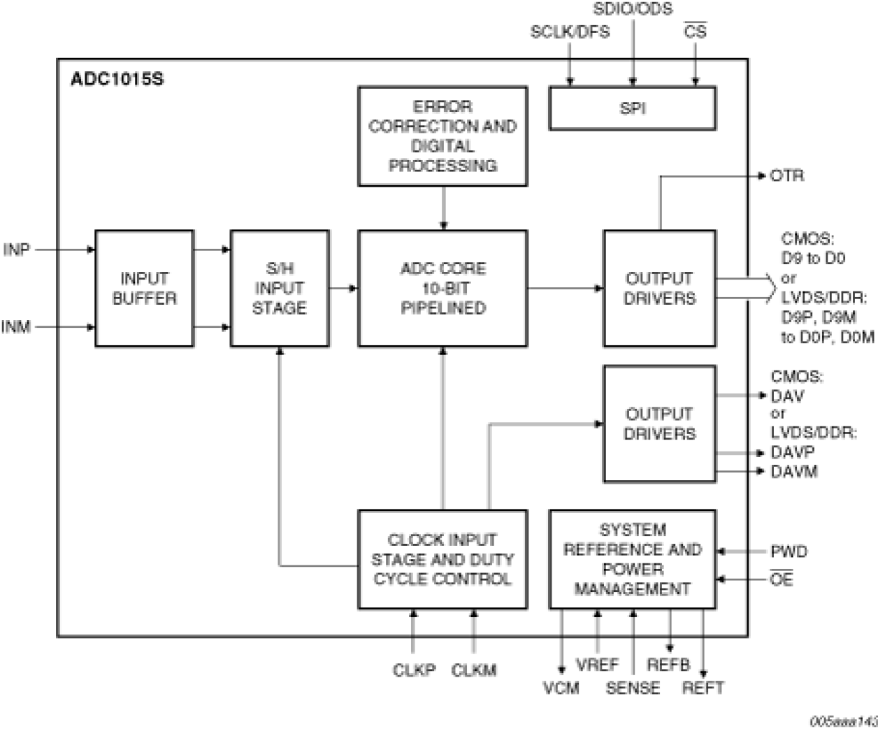
Single 10-bit ADC 80 Msps with Input Buffer CMOS or LVDS DDR digital outputs

封装信息

CAD 模型:View CAD Model
Pkg. Type:VFQFPN
Pkg. Code:NLG40
Lead Count (#):40
Pkg. Dimensions (mm):6.0 x 6.0 x 0.9
Pitch (mm):0.5

环境和出口类别

Pb (Lead) FreeYes
Moisture Sensitivity Level (MSL)3
ECCN (US)
HTS (US)

产品属性

Pkg. TypeVFQFPN
Lead Count (#)40
Pb (Lead) FreeYes
Carrier TypeTray
Channels (#)1
Length (mm)6
MOQ490
Moisture Sensitivity Level (MSL)3
Package Area (mm²)36
Pb Free Categorye3 Sn
Pitch (mm)0.5
Pkg. Dimensions (mm)6.0 x 6.0 x 0.9
Power Consumption Typ (mW)635
Qty. per Carrier (#)490
Qty. per Reel (#)0
Requires Terms and ConditionsDoes not require acceptance of Terms and Conditions
Resolution (bits)10
Supply Voltage (V)1.8 - 1.8, 3.3 - 3.3, 5 - 5
Tape & ReelNo
Temp. Range (°C)-40 to 85°C
Thickness (mm)0.9
Width (mm)6
已发布No

描述

The ADC1015S is a single-channel 10-bit Analog-to-Digital Converter (ADC) optimized for high dynamic performances and low power consumption. Pipelined architecture and output error correction ensure the ADC1015S is accurate enough to guarantee zero missing codes over the entire operating range. Supplied from a single 3 V source, it can handle output logic levels from 1.8 V to 3.3 V in CMOS mode. It supports the LVDS DDR output standard. An integrated SPI allows the user to easily configure the ADC. With excellent dynamic performance from the baseband to input frequencies of 170 MHz or more. The integrated input buffer ensures that the input impedance remains constant and low and the performance consistent over a wide frequency range.