跳转到主要内容
瑞萨电子 (Renesas Electronics Corporation)
Single 12 bits ADC up to 70 Msps

封装信息

CAD 模型:View CAD Model
Pkg. Type:PQFP
Pkg. Code:DIR44
Lead Count (#):44
Pkg. Dimensions (mm):10.0 x 10.0 x 2.1
Pitch (mm):0.8

环境和出口类别

Pb (Lead) FreeYes
Moisture Sensitivity Level (MSL)3
ECCN (US)
HTS (US)

产品属性

Pkg. TypePQFP
Lead Count (#)44
Pb (Lead) FreeYes
Carrier TypeReel
Channels (#)1
Length (mm)10
MOQ1500
Moisture Sensitivity Level (MSL)3
Package Area (mm²)100
Pb Free Categorye3 Sn
Pitch (mm)0.8
Pkg. Dimensions (mm)10.0 x 10.0 x 2.1
Power Consumption Typ (mW)550
Qty. per Carrier (#)0
Qty. per Reel (#)1500
Requires Terms and ConditionsDoes not require acceptance of Terms and Conditions
Resolution (bits)12
Supply Voltage (V)3.3 - 3.3, 5 - 5
Tape & ReelYes
Temp. Range (°C)-40 to 85°C
Thickness (mm)2.1
Width (mm)10

描述

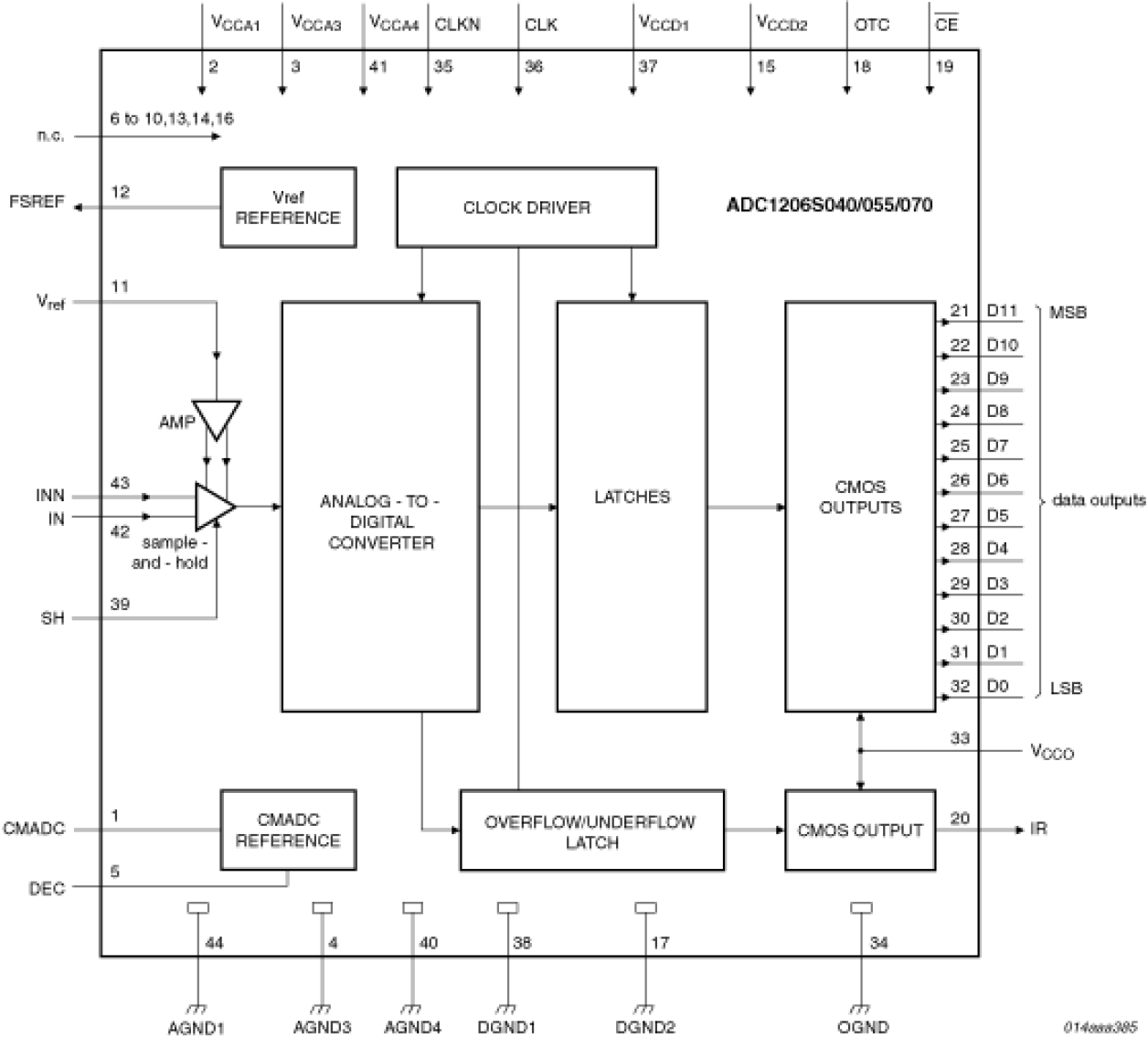
The ADC1206S040/055/070 are a family of BiCMOS 12-bit Analog-to-Digital Converters (ADC) optimized for a wide range of applications such as cellular infrastructures, professional telecommunications, imaging, and digital radio. It converts the analog input signal into 12-bit binary coded digital words at a maximum sampling rate of 70 MHz. All static digital inputs (SH, CE and OTC) are Transistor-Transistor Logic (TTL) and CMOS compatible and all outputs are CMOS compatible. A sine wave clock input signal can also be used.