特性
- Converter or Repeater Mode
- Independent Manchester encoder and decoder operation
- Static to 1Mbps data rate ensured
- Low bit error rate
- Digital PLL clock recovery
- On-chip oscillator
- Low operating power: 50mW Typical at +5V
- Pb-Free (RoHS Compliant)
描述
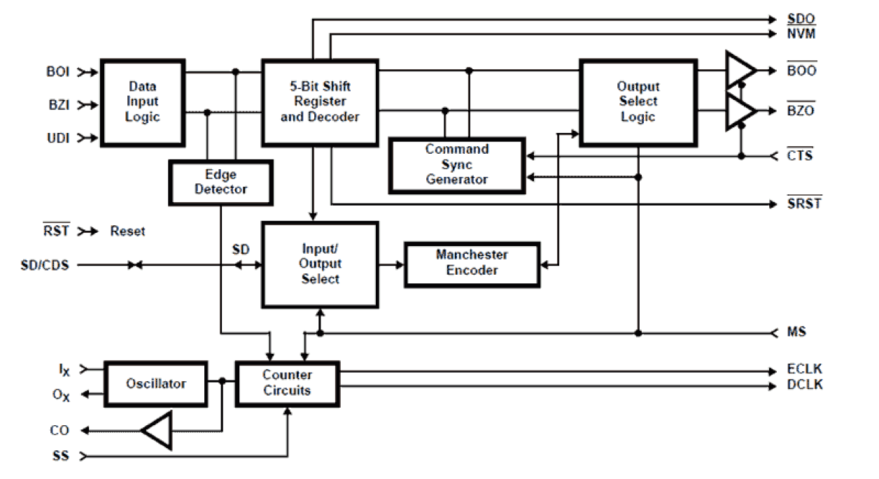
The HD-6409 Manchester Encoder-Decoder (MED) is a High-Speed, low power device manufactured using self-aligned silicon gate technology. The device is intended for use in serial data communication, and can be operated in either of two modes. In the converter mode, the MED converts Nonreturn-to-Zero code (NRZ) into Manchester code and decodes Manchester code into Nonreturn-to-Zero code. For serial data communication, Manchester code does not have some of the deficiencies inherent in Nonreturn-to-Zero code. For instance, use of the MED on a serial line eliminates DC components, provides clock recovery, and gives a relatively high degree of noise immunity. Because the MED converts the most commonly used code (NRZ) to Manchester code, the advantages of using Manchester code are easily realized in a serial data link. In the Repeater mode, the MED accepts Manchester code input and reconstructs it with a recovered clock. This minimizes the effects of noise on a serial data link. A digital phase lock loop generates the recovered clock. A maximum data rate of 1MHz requires only 50mW of power. Manchester code is used in magnetic tape recording and in fiber optic communication, and generally is used where data accuracy is imperative. Because it frames blocks of data, the HD-6409 easily interfaces to protocol controllers.
产品参数
| 属性 | 值 |
|---|---|
| Data Frame Length | Complete Variable |
| Advanced Features | Independent Encoder and Decoder, No DC Component Allowing Transformer Coupling, High Noise Imm |
| Qualification Level | Standard |
封装选项
| Pkg. Type | Pkg. Dimensions (mm) | Lead Count (#) | Pitch (mm) |
|---|---|---|---|
| SOICW | 12.9 x 7.5 x 0.00 | 20 | 1.3 |
当前筛选条件