| CAD 模型: | View CAD Model |
| Pkg. Type: | MQFP |
| Pkg. Code: | QGS |
| Lead Count (#): | 80 |
| Pkg. Dimensions (mm): | 19.99 x 14.00 x 2.70 |
| Pitch (mm): | 0.8 |
| Pb (Lead) Free | No |
| ECCN (US) | EAR99 |
| HTS (US) | 8542.39.0090 |
| Moisture Sensitivity Level (MSL) |
| Lead Count (#) | 80 |
| Carrier Type | Tray |
| Pb (Lead) Free | No |
| Temp. Range (°C) | 0 to +70°C |
| Function | Video Decoder |
| Length (mm) | 20 |
| MOQ | 66 |
| Pitch (mm) | 0.8 |
| Pkg. Dimensions (mm) | 20.0 x 14.0 x 2.70 |
| Pkg. Type | MQFP |
| Qualification Level | Standard |
| Thickness (mm) | 2.7 |
| Width (mm) | 14 |
Support is limited to customers who have already adopted these products.
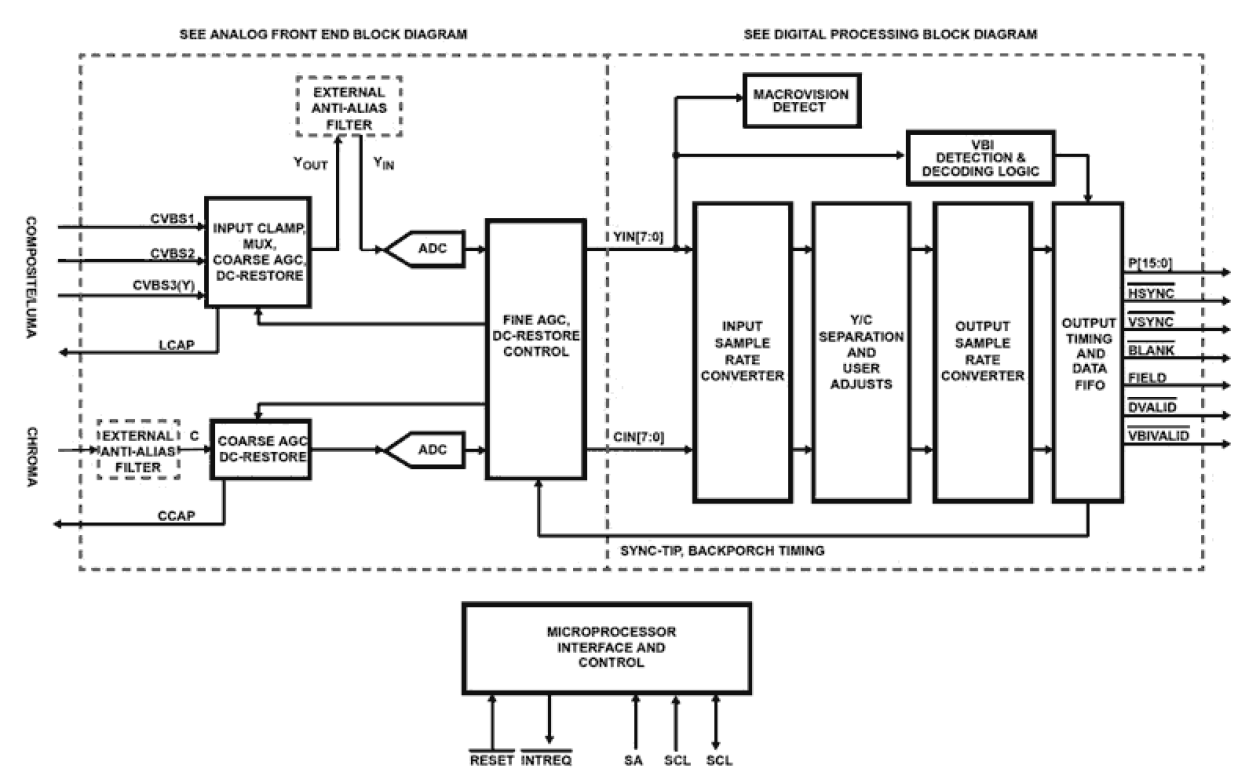
The HMP8117 is a high quality NTSC and PAL video decoder with internal A/D converters. It is compatible with NTSC M, PAL B, D, G, H, I, M, N, and combination N (NC) video standards. Both composite and S-video (Y/C) input formats are supported. A 2-line comb filter plus a user-selectable chrominance trap filter provide high quality Y/C separation. User adjustments include brightness, contrast, saturation, hue, and sharpness. Vertical blanking interval (VBI) data, such as Closed Captioning, Wide Screen Signalling and Teletext, may be captured and output as BT. 656 ancillary data. Closed Captioning and Wide Screen Signalling information may also be read out via the I2C interface. The Videolyzer™ feature provides approved Macrovision™ copy-protection bypass and detection.