| CAD 模型: | View CAD Model |
| Pkg. Type: | CFP |
| Pkg. Code: | HWN |
| Lead Count (#): | 42 |
| Pkg. Dimensions (mm): | 26.9 x 16.3 x 0.00 |
| Pitch (mm): | 1.3 |
| Moisture Sensitivity Level (MSL) | Not Applicable |
| Pb (Lead) Free | Yes |
| ECCN (US) | 9A515.e.1 |
| HTS (US) | 8542.31.0050 |
| Pkg. Type | CFP |
| Lead Count (#) | 42 |
| Carrier Type | Tray |
| Moisture Sensitivity Level (MSL) | Not Applicable |
| Pitch (mm) | 1.3 |
| Pkg. Dimensions (mm) | 26.9 x 16.3 x 0.00 |
| DLA SMD | 5962-95722 |
| Pb (Lead) Free | Yes |
| Pb Free Category | Gold Plate over compliant Undercoat-e4 |
| MOQ | 25 |
| Temp. Range (°C) | -55 to +125°C |
| CAGE code | 34371 |
| DSEE (MeV·cm2/mg) | SEL free |
| Length (mm) | 26.9 |
| Qualification Level | QML Class Q (military),QML Class V (space) |
| Rating | Harsh Environment |
| TID HDR (krad(Si)) | 100 |
| Width (mm) | 16.3 |
Support is limited to customers who have already adopted these products.
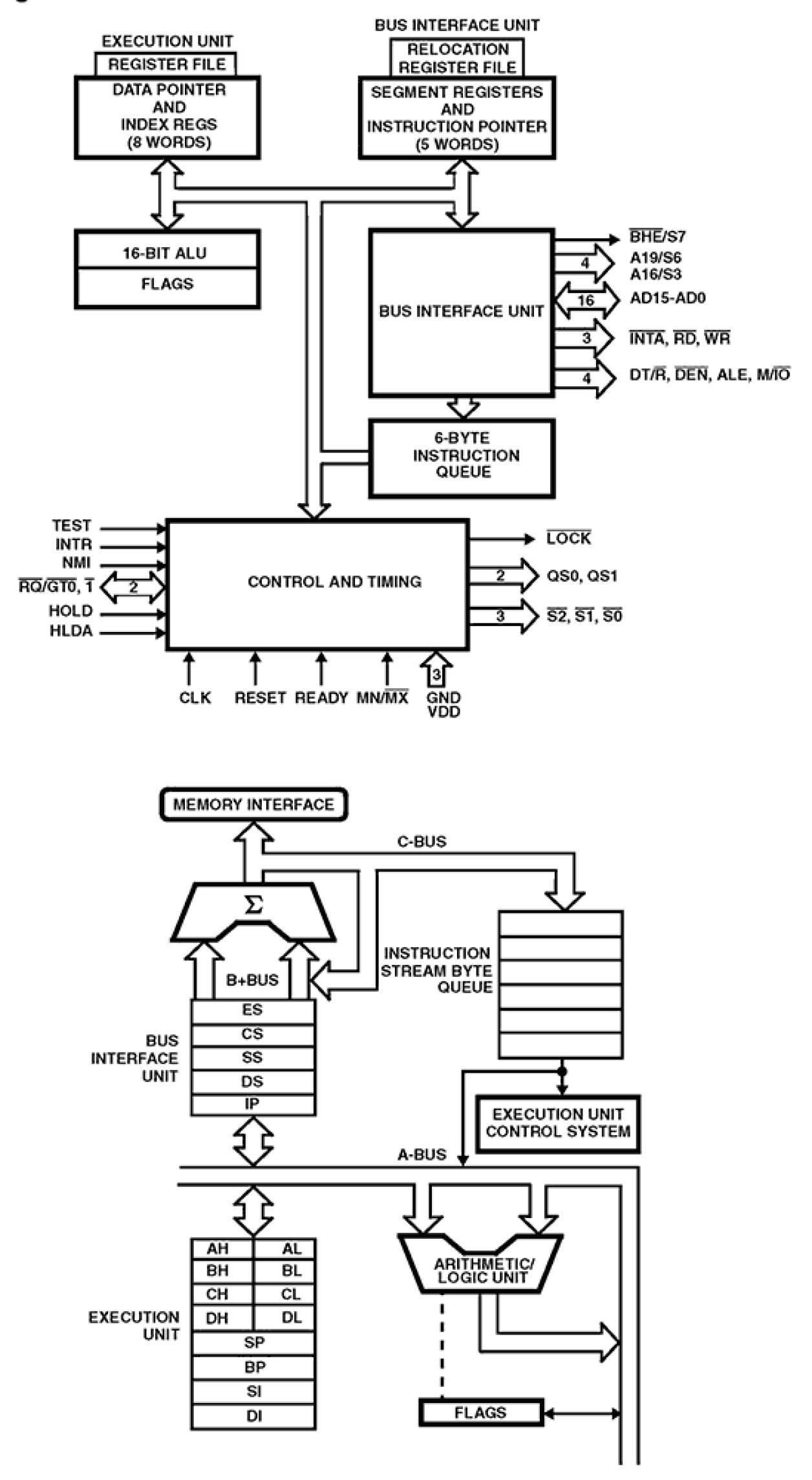
The Intersil HS-80C86RH high performance radiation hardened 16-bit CMOS CPU is manufactured using a hardened field, self aligned silicon gate CMOS process. Two modes of operation, MINimum for small systems and MAXimum for larger applications such as multiprocessing, allow user configuration to achieve the highest performance level. Industry standard operation allows use of existing NMOS 8086 hardware and software designs. Specifications for Rad Hard QML devices are controlled by the Defense Supply Center in Columbus (DSCC). The SMD numbers listed here must be used when ordering. Detailed Electrical Specifications for these devices are contained in SMD 5962-95722.