特性
- Real Time Clock/Calendar
- Tracks Time in Hours, Minutes, and Seconds
- Day of the Week, Day, Month, and Year
- Security and Event Functions
- Tamper detection with Time Stamp
- Event Detection During Battery Packed or Normal Modes
- Selectable Event Input Sampling Rates Allows Low Power Operation
- Selectable Glitch Filter on Event Input Monitor
- 15 Selectable Frequency Outputs
- Single Alarm
- Settable to the Second, Minute, Hour, Day of the Week, Day, or Month
- Single Event or Pulse Interrupt Mode
- Automatic Backup to Battery or Super Cap
- Power Failure Detection
- On-Chip Oscillator Compensation
- 2 Bytes Battery-Backed User SRAM
- I2C Interface
- 400kHz Data Transfer Rate
- 400nA Battery Supply Current
- Small Package
- 10 Ld MSOP
描述
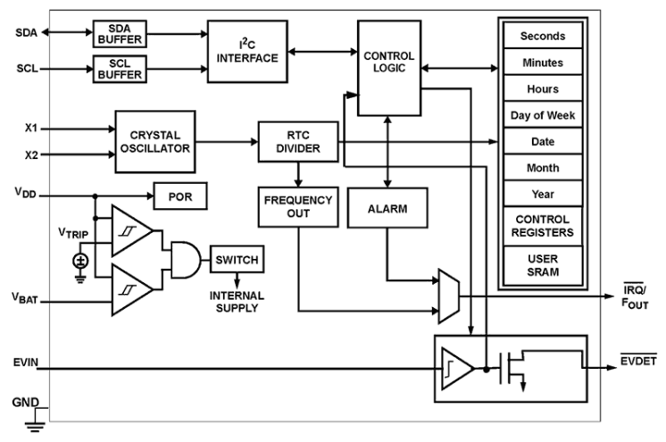
The ISL1209 device is a low power real time clock with Event Detect function, timing and crystal compensation, clock/calendar, power fail indicator, periodic or polled alarm, intelligent battery backup switching and battery-backed user SRAM.
产品参数
| 属性 | 值 |
|---|---|
| Interface | I2C |
| Alarms (#) | 1 |
| Supply Voltage Vcc (Min) (V) | 2.7 |
| Battery Backup | Yes |
| Battery Seal | Yes |
| CPU Supervisory Function POR | No |
| Crystal Frequency Trimming | Yes |
| Frequency Out Pin | Yes |
| Battery Current (nA) | 400 |
| Time Keeping Current (µA) | 1.2 |
| SRAM | 2 Bytes |
| Selectable Frequency Output | 15 |
| Oscillator Compensation | -94 to +140 |
| TRIP Voltage for POR | Yes |
| Product Category | Real-Time Clocks, Real-Time Clocks |
封装选项
| Pkg. Type | Pkg. Dimensions (mm) | Lead Count (#) | Pitch (mm) |
|---|---|---|---|
| MSOP | 3.0 x 3.0 x 0.85 | 10 | 0.5 |
应用
- Utility Meters
- Set Top Box/Modem
- POS Equipment
- Network Routers, Hubs, Switches, Bridges
- Cellular Infrastructure Equipment
- Fixed Broadband Wireless Equipment
- Test Meters/Fixtures
- Vending Machine Management
- Security and Anti Tampering Applications Panel/Enclosure Status Warranty Reporting Time Stamping Applications Patrol/Security Check (Fire or Light Equipment) Automotive Applications
当前筛选条件