跳转到主要内容
瑞萨电子 (Renesas Electronics Corporation)

特性

  • 256 resistor taps
  • I2C serial interface
  • Two address pins, up to four devices per bus
  • Non-volatile EEPROM storage of wiper position
  • 14 General Purpose non-volatile registers
  • High reliability
  • Endurance: 1,000,000 data changes per bit per register
  • Register data retention: 50 years at T ≤ +55 °C
  • Wiper resistance: 70Ω typical at 1mA
  • Standby current <2.5µA max
  • Shutdown current <2.5µA max
  • Dual power supply
  • VCC = 2.25V to 5.5V
  • V- = -2.25V to -5.5V
  • DCP terminal voltage from V- to VCC
  • 10kΩ or 50kΩ total resistance
  • Extended industrial temperature range: -40 °C to +125 °C
  • 10 Lead MSOP
  • Pb-free plus anneal product (RoHS compliant)

描述

Support is limited to customers who have already adopted these products.

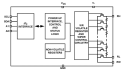
The ISL22313 integrates a single digitally controlled potentiometer (DCP), control logic and non-volatile memory on a monolithic CMOS integrated circuit. The digitally controlled potentiometer is implemented with a combination of resistor elements and CMOS switches. The position of the wipers are controlled by the user through the I2C bus interface. The potentiometer has an associated volatile Wiper Register (WR) and a non-volatile Initial Value Register (IVR) that can be directly written to and read by the user. The contents of the WR control the position of the wiper. At power up the device recalls the contents of the DCP's IVR to the WR. The ISL22313 also has 14 general purpose non-volatile registers that can be used as storage of lookup table for multiple wiper position or any other valuable information. The ISL22313 features a dual supply, that is beneficial for applications requiring a bipolar range for DCP terminals between V- and VCC. The DCP can be used as a three-terminal potentiometer or as a two-terminal variable resistor in a wide variety of applications including control, parameter adjustments, and signal processing.

当前筛选条件