跳转到主要内容
瑞萨电子 (Renesas Electronics Corporation)

特性

  • Two potentiometers in one package
  • 256 resistor taps
  • I2C serial interface
  • Three address pins, up to eight devices per bus
  • Non-volatile EEPROM storage of wiper position
  • 13 General Purpose non-volatile registers
  • High reliability
  • Endurance: 1,000,000 data changes per bit per register
  • Register data retention: 50 years @ T ≤ +55°C
  • Wiper resistance: 70Ω typical @ 1mA
  • Standby current <4µA max
  • Shut-down current <4µA max
  • Dual power supply
  • VCC = 2.25V to 5.5V
  • V- = -2.25V to -5.5V
  • 10kΩ, 50kΩ or 100kΩ total resistance
  • Extended industrial temperature range: -40 to +125°C
  • 14 Ld TSSOP or 16 Ld QFN
  • Pb-free (RoHS compliant)

描述

Support is limited to customers who have already adopted these products.

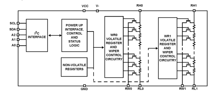
The ISL22323 integrates two digitally controlled potentiometers (DCP), control logic and non-volatile memory on a monolithic CMOS integrated circuit. The digitally controlled potentiometer is implemented with a combination of resistor elements and CMOS switches. The position of the wipers are controlled by the user through the I2C bus interface. The potentiometer has an associated volatile Wiper Register (WRi) and a non-volatile Initial Value Register (IVRi) that can be directly written to and read by the user. The contents of the WRi control the position of the corresponding wiper. At power up the device recalls the contents of the DCP's IVRi to the correspondent WRi. The ISL22323 also has 13 general purpose non-volatile registers that can be used as storage of lookup table for multiple wiper position or any other valuable information. The ISL22323 features a dual supply, that is beneficial for applications requiring a bipolar range for DCP terminals between V- and VCC. Each DCP can be used as three-terminal potentiometers or as two-terminal variable resistors in a wide variety of applications including control, parameter adjustments, and signal processing.

当前筛选条件