跳转到主要内容
瑞萨电子 (Renesas Electronics Corporation)

特性

  • 128 resistor taps
  • SPI serial interface
  • Non-volatile storage of wiper position
  • Wiper resistance: 70Ω typical at 3.3V
  • Shutdown mode
  • Shutdown current 5µA max
  • Power supply: 2.7V to 5.5V
  • 50kΩ or 10kΩ total resistance
  • High reliability
  • Endurance: 1,000,000 data changes per bit per register
  • Register data retention: 50 years at T≤55 °C
  • 10 Ld MSOP and 10 Ld TDFN package
  • Pb-free (RoHS compliant)

描述

Support is limited to customers who have already adopted these products.

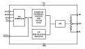
The ISL22416 integrates a single digitally controlled potentiometer (DCP) and non-volatile memory on a monolithic CMOS integrated circuit. The digitally controlled potentiometer is implemented with a combination of resistor elements and CMOS switches. The position of the wiper is controlled by the user through the SPI serial interface. The potentiometer has an associated volatile Wiper Register (WR) and a non-volatile Initial Value Register (IVR) that can be directly written to and read by the user. The contents of the WR controls the position of the wiper. At power-up the device recalls the contents of the DCP's IVR to the WR. The DCP can be used as three-terminal potentiometer or as two-terminal variable resistor in a wide variety of applications including control, parameter adjustments, and signal processing.

当前筛选条件