跳转到主要内容
瑞萨电子 (Renesas Electronics Corporation)

特性

  • Solid-State Non-Volatile Potentiometer
  • Push Button Controlled
  • Single or Auto Increment/Decrement
  • Fast Mode after 1s Button Press
  • AUTOSTORE of Last Wiper Position or Manual Store of Wiper Position
  • Shutdown Mode
  • 16 Wiper Tap Points
  • Middle Scale Wiper Position on Power-Up
  • Low Power CMOS
  • VCC = 2.7V to 5.5V
  • Terminal Voltage, 0 to VCC
  • Standby Current, 3µA max
  • RTOTAL Value = 10kΩ
  • High Reliability
  • Endurance: 1,000,000 data changes per bit per register
  • Register data retention: 50 years @ T ≤ +55°C
  • Packages
  • 8 Ld SOIC
  • 10 Ld µTQFN (2.1mmx1.6mm)
  • Pb-Free (RoHS Compliant)

描述

Support is limited to customers who have already adopted these products.

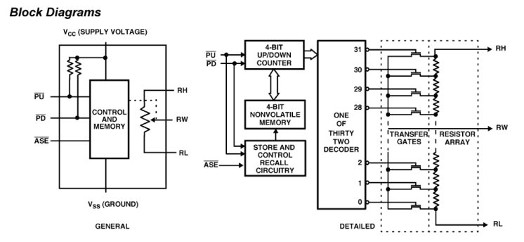
The Intersil ISL22512 is a three-terminal digitally-controlled potentiometer (XDCP) implemented by a resistor array composed of 15 resistive elements and a wiper switching network. The ISL22512 features a push button control, a shutdown mode, as well as an industry-leading µTQFN package. The push button control has individual PU and PD inputs for adjusting the wiper. To eliminate redundancy, the wiper position will automatically increment or decrement if one of these inputs is held longer than one second. Forcing both PU and PD low for more than two seconds activates shutdown mode. Shutdown mode disconnects the top of the resistor chain and moves the wiper to the lowest position, minimizing power consumption. The three terminals accessing the resistor chain naturally configure the ISL22512 as a voltage divider. A rheostat is easily formed by floating an end terminal or connecting it to the wiper.

应用

  • Volume Control
  • LED/LCD Brightness Control
  • Contrast Control
  • Programming Bias Voltages
  • Ladder Networks

当前筛选条件