| CAD 模型: | View CAD Model |
| Pkg. Type: | MSOP |
| Pkg. Code: | MRM |
| Lead Count (#): | 10 |
| Pkg. Dimensions (mm): | 3.0 x 3.0 x 0.85 |
| Pitch (mm): | 0.5 |
| Moisture Sensitivity Level (MSL) | 1 |
| Pb (Lead) Free | Yes |
| ECCN (US) | EAR99 |
| HTS (US) | 8542.39.0090 |
| RoHS (ISL23318WFUZ-T7A) | 下载 |
| Lead Count (#) | 10 |
| Carrier Type | Reel |
| Moisture Sensitivity Level (MSL) | 1 |
| End-to-End Temperature Coefficient (ppm/°C) | 175 |
| Resistance Options (kΩ) | 10 |
| Pkg. Dimensions (mm) | 3.0 x 3.0 x 0.85 |
| Pb (Lead) Free | Yes |
| Pb Free Category | Pb-Free 100% Matte Tin Plate w/Anneal-e3 |
| Temp. Range (°C) | -40 to +125°C |
| Advanced Features | VLOGIC 1.2V to 5.5V |
| Channels (#) | 1 |
| Interface | I2C |
| Length (mm) | 3 |
| MOQ | 250 |
| Memory Type | Volatile |
| Middlepoint Ratiometric Tempco | 8, 4, 2.3 |
| Pitch (mm) | 0.5 |
| Pkg. Type | MSOP |
| Price (USD) | $1.4847 |
| Qualification Level | Standard |
| Resistance Taper | Linear |
| Single Supply Voltage Range (V) | 5.5 |
| Supply Current Icc (µA) | 18 |
| Supply Voltage Vcc (Min) (V) | 1.7 |
| Supply Voltage Vcc Range | 1.7 to 5.5 |
| Taps (#) | 128 |
| Thickness (mm) | 0.85 |
| VL Terminal Voltage (Max) (V) | 5.5 |
| Width (mm) | 3 |
| Wiper Current (mA) | 3 |
| Wiper Resistance (ohms) | 70 |
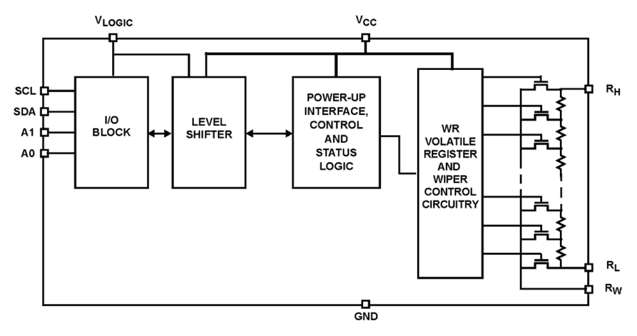
The ISL23318 is a volatile, low voltage, low noise, low power, I2C Bus™, 128 Taps, single digitally controlled potentiometer (DCP), which integrates DCP core, wiper switches and control logic on a monolithic CMOS integrated circuit. The digitally controlled potentiometer is implemented with a combination of resistor elements and CMOS switches. The position of the wipers are controlled by the user through the I2C bus interface. The potentiometer has an associated volatile Wiper Register (WR) that can be directly written to and read by the user. The contents of the WR controls the position of the wiper. When powered on, the ISL23318s wiper will always commence at mid-scale (64 tap position). The low voltage, low power consumption, and small package of the ISL23318 make it an ideal choice for use in battery operated equipment. In addition, the ISL23318 has a VLOGIC pin allowing down to 1. 2V bus operation, independent from the VCC value. This allows for low logic levels to be connected directly to the ISL23318 without passing through a voltage level shifter. The DCP can be used as a three-terminal potentiometer or as a two-terminal variable resistor in a wide variety of applications including control, parameter adjustments, and signal processing.