跳转到主要内容
瑞萨电子 (Renesas Electronics Corporation)

特性

  • 256 resistor taps - 0.4% resolution
  • I2C serial interface with write/read capability
  • Power-on preset to mid-scale (128 tap position)
  • Wiper resistance: 70Ω typical @ 3.3V
  • Standby current 5µA max
  • Power supply: 2.7V to 5.5V
  • 50kΩ, 10kΩ total resistance
  • 8 Ld MSOP
  • Pb-free plus anneal available (RoHS compliant)

描述

Support is limited to customers who have already adopted these products.

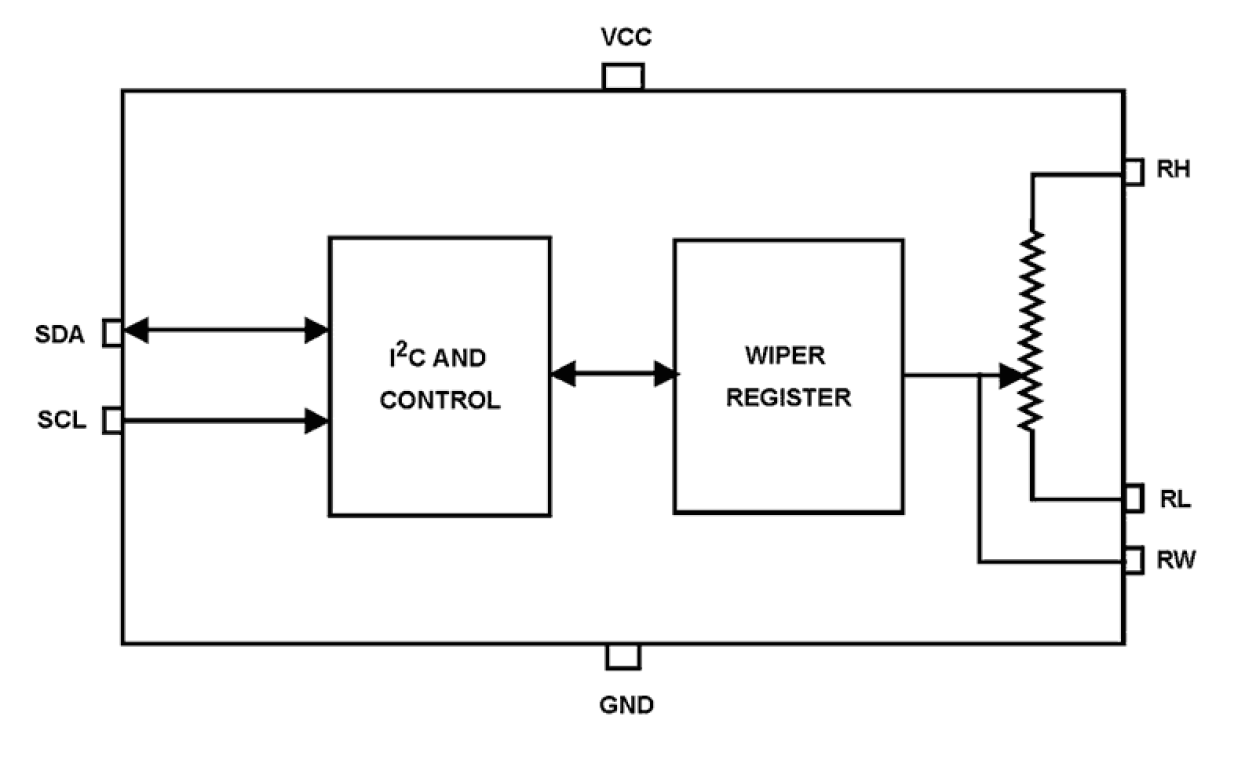
The ISL90810 integrates a digitally controlled potentiometer (XDCP) on a monolithic CMOS integrated circuit. The digitally controlled potentiometers are implemented with a combination of resistor elements and CMOS switches. The position of the wipers are controlled by the user through the I2C bus interface. Each potentiometer has an associated Wiper Register (WR) that can be directly written to and read by the user. The contents of the WR controls the position of the wiper. When powered on the ISL90810's wiper will always commence at mid-scale (128 tap position). The DCP can be used as three-terminal potentiometer or as two-terminal variable resistor in a wide variety of applications including control, parameter adjustments, and signal processing.

当前筛选条件