跳转到主要内容
瑞萨电子 (Renesas Electronics Corporation)

特性

  • Non-Volatile Solid-State Potentiometer
  • Up/Down Interface with Chip Select Enable
  • DCP Terminal Voltage ±2.7V to ±5.5V
  • 128 Wiper Tap Points
  • Wiper position stored in nonvolatile memory and recalled on power-up
  • 127 Resistive Elements
  • Typical RTOTAL tempco = ±50ppm/°C
  • End to end resistance range ±20%
  • Low Power CMOS
  • Standby current, 1µA
  • Active current, 3mA max
  • VCC = 2.7V to 5.5V
  • V- = -2.7V to -5.5V
  • High Reliability
  • Endurance, 200,000 data changes per bit
  • Register data retention, 50 years
  • RTOTAL Values = 10kΩ, 50kΩ
  • Package
  • 10 Ld MSOP
  • Pb-free plus anneal (RoHS compliant)

描述

Support is limited to customers who have already adopted these products.

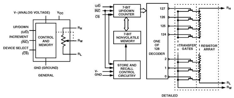
The Intersil ISL95710 is a digitally controlled potentiometer (XDCP). The device consists of a resistor array, wiper switches, a control section, and nonvolatile memory. The wiper position is controlled by a Up/Down interface. The potentiometer is implemented by a resistor array composed of 127 resistive elements and a wiper switching network. Between each element and at either end are tap points accessible to the wiper terminal. The position of the wiper element is controlled by the CS, U/D, and INC inputs. The position of the wiper can be stored in nonvolatile memory and then be recalled upon a subsequent power-up operation. The device can be used as a three-terminal potentiometer or as a two-terminal variable resistor in a wide variety of applications including:

  • Industrial and automotive control
  • Parameter and bias adjustments
  • Amplifier bias and control

当前筛选条件