| CAD 模型: | View CAD Model |
| Pkg. Type: | LFQFP |
| Pkg. Code: | pkg_503 |
| Lead Count (#): | 144 |
| Pkg. Dimensions (mm): | 20 x 20 x 1.7 |
| Pitch (mm): | 0.5 |
| ECCN (US) | 3A991.a.2 |
| HTS (US) | 8542.31.0025 |
| Pb (Lead) Free | |
| Moisture Sensitivity Level (MSL) |
| Family Name | RH850 |
| Series Name | RH850/F1x |
| Group Name | F1K |
| CPU Architecture | RH850 |
| Main CPU | G3KH |
| Sub CPU | No |
| Floating Point Unit | Yes |
| Bit Length | 32 |
| Program Memory (KB) | 768 |
| Data Flash (KB) | 64 |
| RAM (KB) | 96 |
| ECC SRAM | Yes |
| Lead Count (#) | 144 |
| Pkg. Dimensions (mm) | 20 x 20 x 1.7 |
| Number of Supply Voltage(s) (#) | 2 |
| Supply Voltage (V) | 3 - 5.5 |
| I/O Ports | 120 |
| DMAC or DTC | Yes |
| DMA (ch) | 16 |
| Temperature Sensor (ch) (#) | 0 |
| Power-On Reset | Yes |
| Watchdog Timer (ch) | 1 |
| DRAM I/F | No |
| 3D GPU | No |
| Accelerator | No |
| Temp. Range (°C) | -40 to +105 |
| External Interrupt Pins (#) | 16 |
| LVD or PVD | Yes |
| Operating Freq (Max) (MHz) | 120 |
| Sub-clock (32.768 kHz) | Yes |
| On-chip Oscillator | Yes |
| Ethernet speed | No |
| Ethernet (ch) | 0 |
| EtherCat (ch) (#) | 0 |
| USB Ports (#) | 0 |
| USB FS (host ch/device ch) | ( 0 / 0 ) |
| USB HS (host ch/device ch) | ( 0 / 0 ) |
| USB SS (host ch/device ch) | ( 0 / 0 ) |
| PCI Express (generation and ch) | No |
| SCI or UART (ch) | 0 |
| SPI (ch) | 6 |
| QSPI (ch) | 0 |
| OSPI (ch) | 0 |
| I2C (#) | 1 |
| I3C (ch) | 0 |
| CAN (ch) | 6 |
| CAN-FD (ch) | 0 |
| Wireless | No |
| IrDA | No |
| LIN (#) | 12 |
| SDHI (ch) | 0 |
| PWM Output (pin#) | 0 |
| 32-Bit Timer (ch) | 8 |
| 16-Bit Timer (ch) (#) | 32 |
| 8-Bit Timer (ch) | 0 |
| Standby operable timer | No |
| Asynchronous General Purpose Timer / Interval Timer (ch) | 0 |
| RTC | No |
| 16-Bit A/D Converter (ch) | 0 |
| 14-Bit A/D Converter (ch) | 0 |
| 12-Bit A/D Converter (ch) | 48 |
| 10-Bit A/D Converter (ch) | 0 |
| 24-Bit Sigma-Delta A/D Converter (ch) | 0 |
| 16-Bit D/A Converter (ch) | 0 |
| 12-Bit D/A Converter (ch) | 0 |
| 10-Bit D/A Converter (ch) (#) | 0 |
| 8-Bit D/A Converter (ch) | 0 |
| Analog Comparator (ch) | 0 |
| OPAMP (ch) (#) | 0 |
| PGA (ch) | 0 |
| Capacitive Touch Sensing Unit (ch) | 0 |
| Graphics LCD Controller | No |
| MIPI Interfaces (CSI) (ch) | 0 |
| Camera I/F (Parallel) | No |
| Image Codec | No |
| 2D Drawing Engine | No |
| Segment LCD Controller | No |
| SSI (ch) | 0 |
| Security & Encryption | Yes |
| Pitch (mm) | 0.5 |
| 12-Bit Timer (ch) | 0 |
| 32-Bit High Res Timer (ch) | 0 |
| ADC | 48 |
| Advanced Features | CAN/CAN FD 6ch, LIN, ICU (Intelligent Cryptographic Unit) |
| Asynchronous General Purpose Timer (ch) | 0 |
| Bit Size | 32 |
| CPU | G3KH |
| DMA | Yes |
| DTC (ch) | 0 |
| Ethernet | No |
| Family Name | RH850 |
| Group Name | F1K |
| High-Speed Analog Comparator (ch) | 0 |
| Highest ASIL Level | ASIL-B |
| I / O Supply (V) | 3.3V, 5V |
| Length (mm) | 20 |
| Low-Power Analog Comparator (ch) | 0 |
| Number of core (Main + Checker) | 1 + 0 |
| Pkg. Type | QFP144 |
| SPI (#) | 6 |
| Security Level | SHE |
| Standby Mode | Yes |
| Thickness (mm) | 1.7 |
| Timer | 16-bit x 32-ch, 32-bit x 8-ch |
| USBFS (ch) | 0 |
| USBHS (ch) | 0 |
| Width (mm) | 20 |
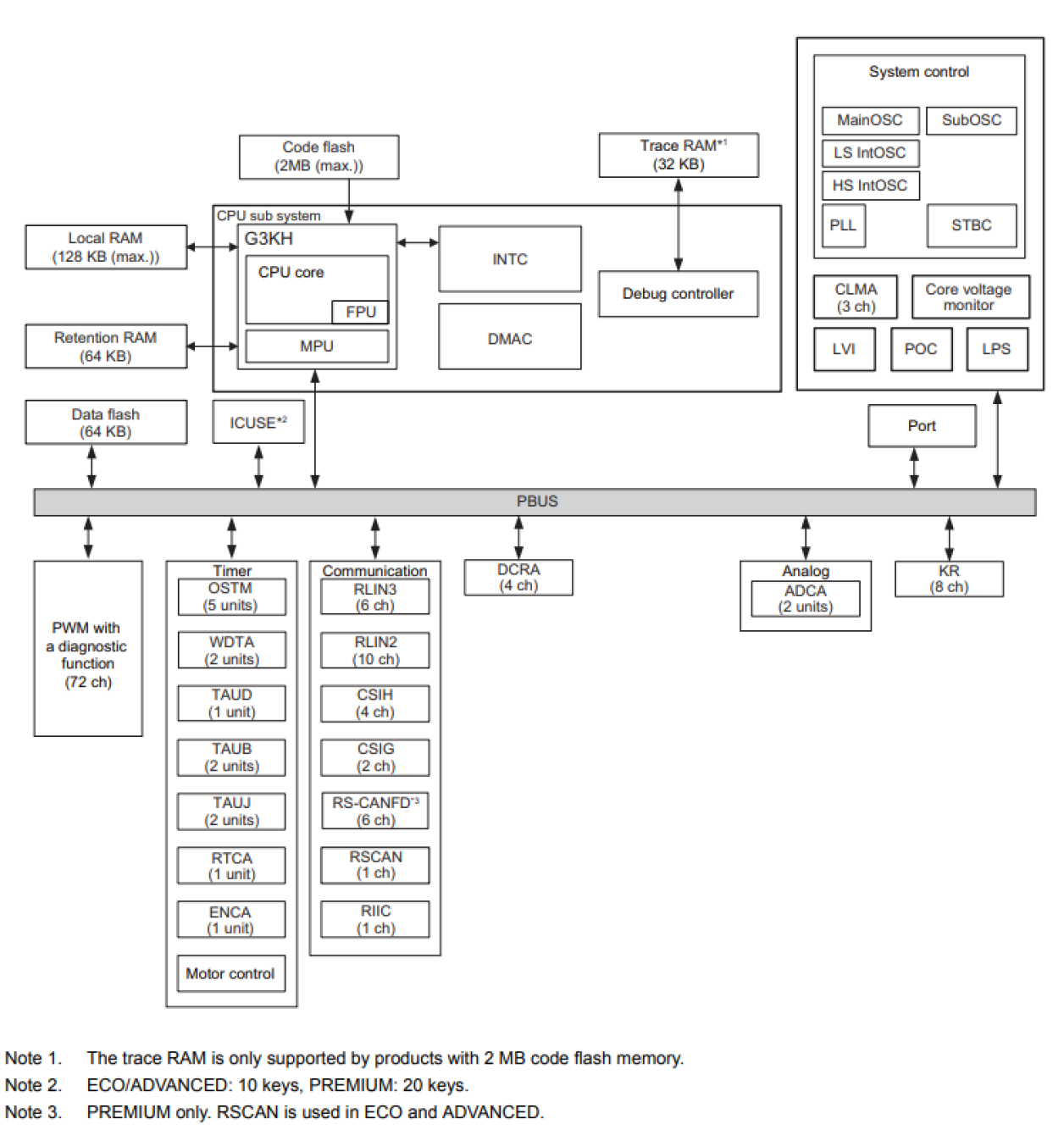
RH850/F1K 是 RH850/F1x 系列中的一组单芯片微控制器,专为汽车电气车身应用而设计。 该器件不仅功耗低,而且内部闪存范围为 768KB 至 2MB,封装涵盖 100 至 176 引脚的宽范围。 此外,还增加了一个 CAN FD 接口,CPU 工作频率高达 120MHz。 我们提供有多种齐全的设计资源,可帮助您尽快将设计推向市场。