特性
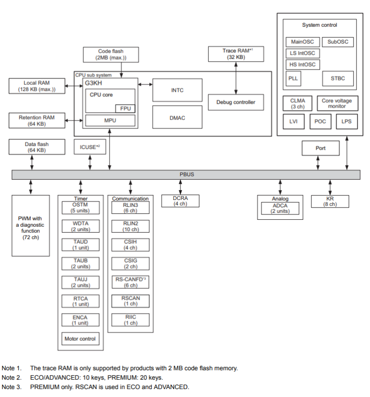
- 具有 G3KH CPU 内核的 32 位单芯片微控制器
- 高计算处理能力
- 工作频率:120MHz
- 内部闪存:768KB 到 2MB
- 多种内部外设功能
- CAN FD 接口(仅限高级产品)
- 低功耗
- 低功耗采样器(LPS)轮询信号输入,无需 CPU 内核交互
- 省电模式禁用电源,以在芯片内选择电路
- 100 至 176 引脚的封装选项
描述
RH850/F1K 是 RH850/F1x 系列中的一组单芯片微控制器,专为汽车电气车身应用而设计。 该器件不仅功耗低,而且内部闪存范围为 768KB 至 2MB,封装涵盖 100 至 176 引脚的宽范围。 此外,还增加了一个 CAN FD 接口,CPU 工作频率高达 120MHz。 我们提供有多种齐全的设计资源,可帮助您尽快将设计推向市场。
产品参数
| 属性 | 值 |
|---|---|
| Main CPU | G3KH |
| Program Memory (KB) | 768, 1024, 1536, 2048 |
| RAM (KB) | 96, 128, 160, 192 |
| Supply Voltage (V) | 3 - 5.5 |
| I/O Ports | 81, 120, 150 |
| DRAM I/F | No |
| 3D GPU | No |
| Temp. Range (°C) | -40 to +105, -40 to +125 |
| Ethernet speed | No |
| Ethernet (ch) | 0 |
| EtherCat (ch) (#) | 0 |
| USB FS (host ch/device ch) | ( 0 / 0 ) |
| USB HS (host ch/device ch) | ( 0 / 0 ) |
| USB SS (host ch/device ch) | ( 0 / 0 ) |
| PCI Express (generation and ch) | No |
| SCI or UART (ch) | 0 |
| SPI (ch) | 5, 6 |
| I2C (#) | 1 |
| CAN (ch) | 6, 7 |
| CAN-FD (ch) | 0 |
| Wireless | No |
| SDHI (ch) | 0 |
| PWM Output (pin#) | 0 |
| 32-Bit Timer (ch) | 8 |
| 16-Bit Timer (ch) (#) | 32, 48 |
| 8-Bit Timer (ch) | 0 |
| Standby operable timer | No |
| Asynchronous General Purpose Timer / Interval Timer (ch) | 0 |
| 16-Bit A/D Converter (ch) | 0 |
| 14-Bit A/D Converter (ch) | 0 |
| 12-Bit A/D Converter (ch) | 36, 48, 60 |
| 10-Bit A/D Converter (ch) | 0 |
| 24-Bit Sigma-Delta A/D Converter (ch) | 0 |
| 16-Bit D/A Converter (ch) | 0 |
| 12-Bit D/A Converter (ch) | 0 |
| 10-Bit D/A Converter (ch) (#) | 0 |
| 8-Bit D/A Converter (ch) | 0 |
| Capacitive Touch Sensing Unit (ch) | 0 |
| Graphics LCD Controller | No |
| MIPI Interfaces (CSI) (ch) | 0 |
| Image Codec | No |
| Segment LCD Controller | No |
| Security & Encryption | Yes |
应用
- 车体
- 车身控制模块(BCM)
- 汽车网关
- 汽车暖通空调
- 汽车照明模块
当前筛选条件
加载中
筛选
请登录后开启订阅
有些文件可以在保密协议下发布。
- Security documentation - Please contact your local sales/FAE team to help with the NDA process and request access to the security documents for you. Alternatively, submit a support ticket.
- Functional Safety documentation - Request Documents
加载中
筛选
软件与工具
样例程序
模拟模型
抢先一睹 2019 年瑞萨汽车科技周。 客户有机会与瑞萨产品专家互动,探索可用的数字和模拟解决方案。
视频笔录
Elmar Winter: 我们已经为汽车客户举办了 14 届科技周活动。 其中 11 届是在我们的客户所在地举办,另外 3 届是在我们的欧洲办事处举办。
Carsten Jauch: 今天,我们的团队已经准备了大量的现场演示,真诚希望您与我们的专家进行深入的技术讨论,可以推动您的创新。
Elmar Winter: 瑞萨正逐渐从单纯的半导体供应商转型为系统解决方案供应商。今天,我们能够为所有客户提供广泛的数字和模拟解决方案。
对于无刷直流电机,我们的解决方案使用了我们的 MCU 控制 BLDC 电机的电子换向, 借助内置的感应检测,能够精确地检测到转子位置,并同时更换解析器的解决方案。
借助我们的 R-Car SoC 解决方案,我们的客户得以推出越来越多信息娱乐和 ADAS 领域的解决方案。
同时,他们使用瑞萨的时钟和 PMIC 解决方案,节省了开发时间。
在科技周,各方面专家齐聚一堂,是一种非常高效的方式。 就像是在您当地举办了一次小型会议。 如果您对此类科技周感兴趣,请联系我们的销售团队。
In this video, we will show you how to use a MCAL package