| CAD 模型: | View CAD Model |
| Pkg. Type: | LBGA |
| Pkg. Code: | VFE |
| Lead Count (#): | 256 |
| Pkg. Dimensions (mm): | 0.00 x 0.00 x 0.00 |
| Pitch (mm): |
| Moisture Sensitivity Level (MSL) | 3 |
| Pb (Lead) Free | Yes |
| ECCN (US) | |
| HTS (US) |
| Pkg. Type | LBGA |
| Carrier Type | Tray |
| MOQ | 90 |
| Function | Display MUX |
| Lead Count (#) | 256 |
| Moisture Sensitivity Level (MSL) | 3 |
| Pb (Lead) Free | Yes |
| Pb Free Category | Pb-Free Ball Terminal (SAC305)-e1 |
| Pkg. Dimensions (mm) | 0.0 x 0.0 x 0.00 |
| Qualification Level | Standard |
| Temp. Range (°C) | -40 to +85°C |
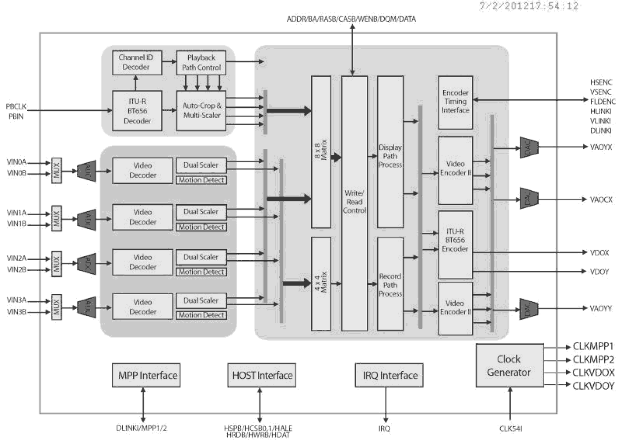
The TW2836 has four high quality NTSC/PAL video decoders, dual color display controllers and dual video encoders. The TW2836 contains four built-in analog anti-aliasing filters, four 10bit Analog-to-Digital converters, and proprietary digital gain/clamp controller, high quality Y/C separator to reduce cross-noise and high performance free scaler. Four built-in motion, blind and night detectors can increase the feature of security system. The TW2836 has flexible video display/record/playback controller including basic display and MUX functions. The TW2836 also has excellent graphic overlay function that displays bitmap for OSD, single box, 2D array box, and mouse pointer. The built-in channel ID CODEC allows auto decoding and displaying during playback and the additional scaler on the playback supports multi-cropping function of the same field or frame image. The TW2836 contains two video encoders with three 10bit Digital-to-Analog converters to provide 2 composite or S-video. The TW2836 can be extended up to 8/16 channel video controller using chip-to-chip cascade connection.