跳转到主要内容
瑞萨电子 (Renesas Electronics Corporation)

特性

  • NTSC (M, 4.43) and PAL (B, D, G, H, I, M, N, N combination), PAL (60), SECAM with automatic format detection
  • 10-bit ADC and analog clamping circuit
  • Fully programmable static gain or automatic gain control for the Y or CVBS channel
  • Programmable white peak control for the Y or CVBS channel
  • High quality adaptive 2D comb filter for both NTSC and PAL inputs
  • PAL delay line for color phase error correction
  • Image enhancement with 2D dynamic peaking and CTI
  • Digital sub-carrier PLL for accurate color decoding
  • Digital horizontal PLL and advanced synchronization processing for VCR playback and weak signal performance
  • Programmable hue, brightness, saturation, contrast and sharpness
  • Built-in programmable timing controller
  • Supports 3, 4, 6 or 8 bits per pixel up to 16.8 million colors with built-in dithering engine
  • Supports digital panels up to WXGA+ (1366x768) resolution
  • Supports serial (8-bit) RGB panels
  • Supports programmable timing interface signals for control
  • Column (source) driver/row (gate) driver
  • 256 Font RAM and 512 Display RAM
  • Four windows font OSD with bordering/shadowing
  • See datasheet for full list of features

描述

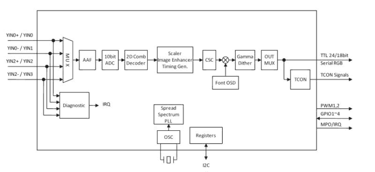
The TW8819 is an ultra low cost highly integrated LCD controller. It combines a high quality 2D comb NTSC/PAL/SECAM video decoder, high quality scaler, Font based OSD engine, and image enhancement functions. It also supports panoramic scaling for conversion to wide screen display. The TW8819 supports analog composite video inputs and the output supports a wide variety of digital LCD panel types.

产品参数

属性
CVBS InputYes (differential)
S-Video InputYes
YPbPr InputNo
SCART InputNo
Analog RGB InputNo
Digital RGB/Y CbCr InputNo
Comb Filter2D
Output Resolution (Max)WXGA+
De-InterlacerYes
Color EnhancementYes
PIPNo
OSD TypeFont
OSD Font RAM256
External OSDNo
CCFL/LED ControllerNo
Dual View OutputNo
LVDS InputNo
LVDS OutputNo
MCU/MPUNo
Memory SupportNo
MIPI-CSI2 inputNo
OSD Colors16 Colors / 16-bit Palette
Secondary OutputNo
TCON OutputAnalog
Touch-screen ControllerNo
TTL OutputYes
Qualification LevelAEC-Q100 Grade 2

封装选项

Pkg. TypePkg. Dimensions (mm)Lead Count (#)Pitch (mm)
QFN7.0 x 7.0 x 0.85480.5
WFQFN7.0 x 7.0 x 0.85480.5

应用

  • Rear camera display
  • Video door phone

当前筛选条件