| CAD 模型: | View CAD Model |
| Pkg. Type: | QFN |
| Pkg. Code: | LZR |
| Lead Count (#): | 48 |
| Pkg. Dimensions (mm): | 7.01 x 7.01 x 0.85 |
| Pitch (mm): | 0.5 |
| Moisture Sensitivity Level (MSL) | 3 |
| Pb (Lead) Free | Yes |
| ECCN (US) | EAR99 |
| HTS (US) | 8542.39.0090 |
| RoHS (TW8819-NA2-CRT) | 下载 |
| Lead Count (#) | 48 |
| Carrier Type | Reel |
| Moisture Sensitivity Level (MSL) | 3 |
| Pb (Lead) Free | Yes |
| Pb Free Category | Pb-Free 100% Matte Tin Plate w/Anneal-e3 |
| Temp. Range (°C) | -40 to +85°C |
| Country of Assembly | TAIWAN |
| Country of Wafer Fabrication | UNITED STATES |
| Analog RGB Input | No |
| CCFL/LED Controller | No |
| CVBS Input | Yes (differential) |
| Color Enhancement | Yes |
| Comb Filter | 2D |
| De-Interlacer | Yes |
| Digital RGB/Y CbCr Input | No |
| Dual View Output | No |
| External OSD | No |
| ISO 26262 (Functional Safety) | QM |
| LVDS Input | No |
| LVDS Output | No |
| Length (mm) | 7 |
| MCU/MPU | No |
| MIPI-CSI2 input | No |
| MOQ | 3000 |
| Memory Support | No |
| OSD Colors | 16 Colors / 16-bit Palette |
| OSD Font RAM | 256 |
| OSD Type | Font |
| Output Resolution (Max) | WXGA+ |
| PIP | No |
| Pitch (mm) | 0.5 |
| Pkg. Dimensions (mm) | 7.0 x 7.0 x 0.85 |
| Pkg. Type | QFN |
| Qualification Level | AEC-Q100 Grade 2 |
| S-Video Input | Yes |
| SCART Input | No |
| Secondary Output | No |
| TCON Output | Analog |
| TTL Output | Yes |
| Thickness (mm) | 0.85 |
| Touch-screen Controller | No |
| Width (mm) | 7 |
| YPbPr Input | No |
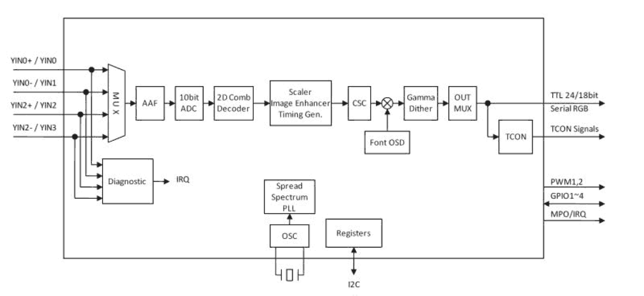
The TW8819 is an ultra low cost highly integrated LCD controller. It combines a high quality 2D comb NTSC/PAL/SECAM video decoder, high quality scaler, Font based OSD engine, and image enhancement functions. It also supports panoramic scaling for conversion to wide screen display. The TW8819 supports analog composite video inputs and the output supports a wide variety of digital LCD panel types.