特性
- NTSC (M, 4.43) and PAL (B, D, G, H, I, M, N, N combination), PAL (60), SECAM with automatic format detection
- Three 10-bit ADCs and analog clamping circuit.
- Fully programmable static gain or automatic gain control for the Y or CVBS channel
- Programmable white peak control for the Y or CVBS channel
- Software selectable analog inputs allow composite, S-video, analog YPbPr or RGB
- High quality adaptive 2D comb filter for both NTSC and PAL inputs
- PAL delay line for color phase error correction
- See Datasheet for full list of features
描述
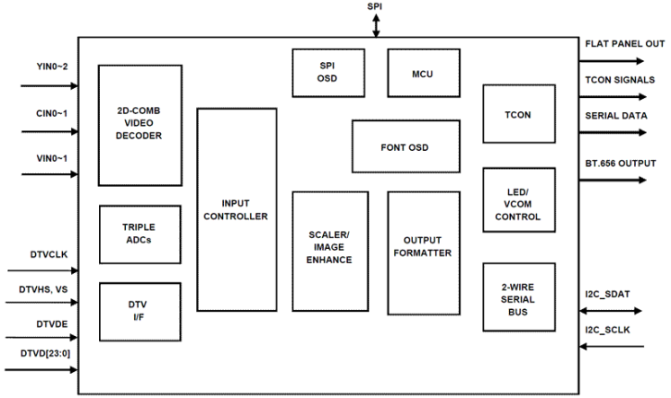
The TW8835 incorporates many of the features required to create multipurpose in-car LCD display system in a single package. It integrates a high quality 2D comb NTSC/PAL/SECAM video decoder, triple High-Speed RGB ADCs, high quality scaler, versatile OSD and high performance MCU. Its image video processing capability includes arbitrary scaling, panoramic scaling, image mirroring, image adjustment and enhancement, black and white stretch, etc. On the input side, it supports a rich combination of CVBS, S-video, component video, analog RGB as well as digital YCbCr/RGB inputs. On the output side, it supports a variety of digital panel types with its built-in timing controller. The integration of additional touch screen controller, LED driver controller, PWM and MCU makes this a versatile solution for many portable applications.
产品参数
| 属性 | 值 |
|---|---|
| CVBS Input | Yes |
| S-Video Input | Yes |
| YPbPr Input | Yes |
| SCART Input | No |
| Analog RGB Input | Yes |
| Digital RGB/Y CbCr Input | 24 bit |
| ADC Input Frequency (MHz) | 148 |
| Comb Filter | 2D |
| Output Resolution (Max) | XGA |
| De-Interlacer | 2D |
| Color Enhancement | Yes |
| PIP | No |
| OSD Type | Font / SPI bitmap |
| OSD Font RAM | 256 |
| External OSD | No |
| CCFL/LED Controller | LED |
| Dual View Output | No |
| LVDS Input | No |
| LVDS Output | No |
| MCU/MPU | Integrated |
| Memory Support | No |
| MIPI-CSI2 input | No |
| OSD Colors | 16 Colors / 16-bit Pallette |
| TCON Output | Digital |
| Touch-screen Controller | Yes |
| TTL Output | Yes |
| Qualification Level | AEC-Q100 Grade 2 |
封装选项
| Pkg. Type | Pkg. Dimensions (mm) | Lead Count (#) | Pitch (mm) |
|---|---|---|---|
| LQFP | 0.0 x 0.0 x 1.40 | 128 | 0.5 |
应用
- In-car display
- Portable DVD and DVRs players
- Portable media player
当前筛选条件