| CAD 模型: | View CAD Model |
| Pkg. Type: | SOICW |
| Pkg. Code: | MWT |
| Lead Count (#): | 20 |
| Pkg. Dimensions (mm): | 12.85 x 7.52 x 0.00 |
| Pitch (mm): | 1.27 |
| Moisture Sensitivity Level (MSL) | 3 |
| ECCN (US) | EAR99 |
| HTS (US) | 8542.39.0090 |
| Pb (Lead) Free | Yes |
| Carrier Type | Tube |
| Moisture Sensitivity Level (MSL) | 3 |
| Advanced Features | Integrated charge pump to allow for single supply to swing -3V to 5.5V |
| Channels (#) | 4 |
| End-to-End Temperature Coefficient (ppm/°C) | 300 |
| Interface | 2-Wire |
| Lead Count (#) | 20 |
| Length (mm) | 12.9 |
| MOQ | 420 |
| Memory Type | Nonvolatile |
| Middlepoint Ratiometric Tempco | 20 |
| Pb (Lead) Free | Yes |
| Pb Free Category | Pb-Free 100% Matte Tin Plate w/Anneal-e3 |
| Pitch (mm) | 1.3 |
| Pkg. Dimensions (mm) | 12.9 x 7.5 x 0.00 |
| Pkg. Type | SOICW |
| Qualification Level | Standard |
| Resistance Options (kΩ) | 2 |
| Resistance Taper | Linear |
| Supply Current Icc (µA) | 200 |
| Supply Voltage Vcc (Min) (V) | 4.5 |
| Supply Voltage Vcc Range | 4.5 to 5.5 |
| Taps (#) | 64 |
| Temp. Range (°C) | 0 to +70°C |
| VL Terminal Voltage (Max) (V) | 5.5 |
| VL Terminal Voltage (Min) (V) | -3 |
| Width (mm) | 7.5 |
| Wiper Current (mA) | 3 |
| Wiper Resistance (ohms) | 40 |
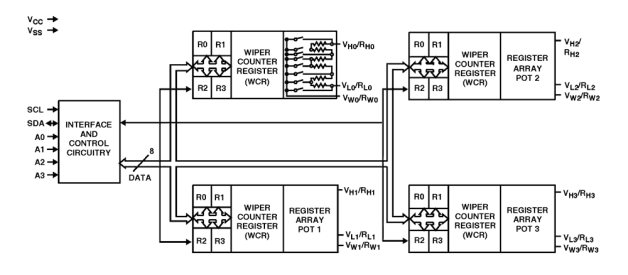
The X9241A integrates four digitally controlled potentiometers (XDCP) on a monolithic CMOS integrated microcircuit. The digitally controlled potentiometer is implemented using 63 resistive elements in a series array. Between each element are tap points connected to the wiper terminal through switches. The position of the wiper on the array is controlled by the user through the 2-wire bus interface. Each potentiometer has associated with it a volatile Wiper Counter Register (WCR) and 4 nonvolatile Data Registers (DR0:DR3) that can be directly written to and read by the user. The contents of the WCR controls the position of the wiper on the resistor array through the switches. Power up recalls the contents of DR0 to the WCR. The XDCP can be used as a three-terminal potentiometer or as a two-terminal variable resistor in a wide variety of applications including control, parameter adjustments, and signal processing.