| CAD 模型: | View CAD Model |
| Pkg. Type: | SOICN |
| Pkg. Code: | MBX |
| Lead Count (#): | 8 |
| Pkg. Dimensions (mm): | 4.9 x 3.9 x 0.00 |
| Pitch (mm): | 1.3 |
| Moisture Sensitivity Level (MSL) | 1 |
| ECCN (US) | EAR99 |
| HTS (US) | 8542.39.0090 |
| RoHS (X9314WSZT1) | 下载 |
| Pb (Lead) Free | Yes |
| Carrier Type | Reel |
| Moisture Sensitivity Level (MSL) | 1 |
| Country of Assembly | MALAYSIA, THAILAND |
| Country of Wafer Fabrication | USA |
| Advanced Features | Integrated charge pump to allow for single supply to swing -5.5V to 5.5V |
| Channels (#) | 1 |
| End-to-End Temperature Coefficient (ppm/°C) | 600 |
| Interface | 3-Wire (Up/Down) |
| Lead Count (#) | 8 |
| Length (mm) | 4.9 |
| MOQ | 2500 |
| Memory Type | Nonvolatile |
| Middlepoint Ratiometric Tempco | 20 |
| Pb (Lead) Free | Yes |
| Pb Free Category | Pb-Free 100% Matte Tin Plate w/Anneal-e3 |
| Pitch (mm) | 1.3 |
| Pkg. Dimensions (mm) | 4.9 x 3.9 x 0.00 |
| Pkg. Type | SOICN |
| Qualification Level | Standard |
| Resistance Options (kΩ) | 10 |
| Resistance Taper | Logarithmic |
| Supply Current Icc (µA) | 500 |
| Supply Voltage Vcc (Min) (V) | 3 |
| Supply Voltage Vcc Range | 3.0 to 5.5 |
| Taps (#) | 32 |
| Temp. Range (°C) | 0 to +70°C |
| VL Terminal Voltage (Max) (V) | 5.5 |
| VL Terminal Voltage (Min) (V) | -5.5 |
| Width (mm) | 3.9 |
| Wiper Current (mA) | 4.4 |
| Wiper Resistance (ohms) | 40 |
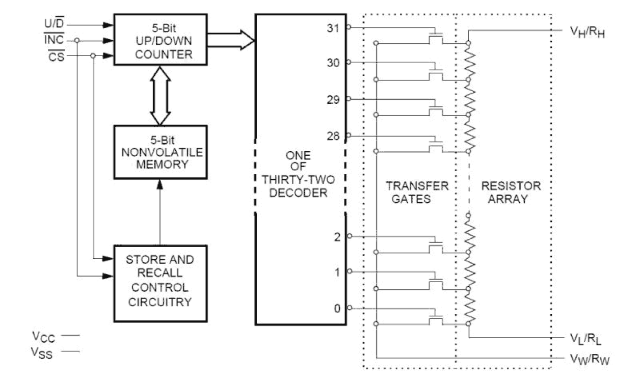
The Intersil X9314 is a solid state nonvolatile potentiometer and is ideal for digitally controlled resistance trimming. The X9314 is a resistor array composed of 31 resistive elements. Between each element and at either end are tap points accessible to the wiper element. The position of the wiper element is controlled by the CS, U/D, and INC inputs. The position of the wiper can be stored in nonvolatile memory and then be recalled upon a subsequent power-up operation. The XDCP can be used as a three-terminal potentiometer or as a two-terminal variable resistor in a wide variety of applications including control, parameter adjustments, and signal processing.