跳转到主要内容
瑞萨电子 (Renesas Electronics Corporation)

特性

  • Solid-State Potentiometer
  • 3-Wire Serial Interface
  • 32 Wiper Tap Points
  • Wiper Position Stored in Nonvolatile Memory and Recalled on Power-up
  • 31 Resistive Elements
  • Temperature Compensated
  • Maximum Resistance Tolerance of ±30%
  • Terminal Voltage, 0 to VCC
  • Low Power CMOS
  • VCC = 3V ±10%
  • Active Current, 250µA max.
  • Standby Current, 1µA max.
  • High Reliability
  • Endurance 200,000 Data Changes per Bit
  • Register Data Retention, 100 years
  • RTOTAL Value = 50kΩ
  • Package
  • 8 Ld MSOP
  • Pb-free (RoHS Compliant)

描述

Support is limited to customers who have already adopted these products.

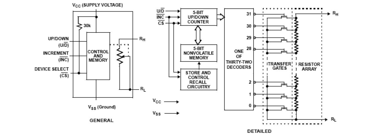
The Intersil X93154 is a digitally controlled potentiometer (XDCP). The device consists of a resistor array, wiper switches, a control section, and nonvolatile memory. The wiper position is controlled by a 3-wire interface. The potentiometer is implemented by a resistor array composed of 31 resistive elements and a wiper switching network. The position of the wiper element is controlled by the CS, U/D, and INC inputs. The position of the wiper can be stored in nonvolatile memory and then be recalled upon during a subsequent power-up operation. The device is connected as a two-terminal variable resistor and can be used in a wide variety of applications including: $$ Bias and Gain Control $$ LCD Contrast Adjustment

当前筛选条件