跳转到主要内容

特性

  • Dual solid-state potentiometers
  • Individual Up/Down interfaces
  • 32 wiper tap points per potentiometer
  • Wiper position stored in nonvolatile memory and recalled on power-up
  • 31 resistive elements per potentiometer
  • Temperature compensated
  • Maximum resistance tolerance of ±25%
  • Terminal voltage, 0 to VCC
  • Low power CMOS
  • VCC = 2.7V to 5.5V.
  • Active current, 200µA typical per potentiometer
  • Standby current, 4µA max per potentiometer
  • High reliability
  • Endurance 200,000 data changes per bit
  • Register data retention, 100 years
  • RTOTAL value = 12.5kΩ, 50kΩ
  • Package
  • 14 Ld TSSOP
  • Pb-free available (RoHS compliant)

描述

Support is limited to customers who have already adopted these products.

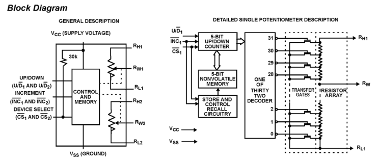
The Intersil X93256 is a dual digitally controlled potentiometer (XDCP). The device consists of two resistor arrays, wiper switches, a control section, and nonvolatile memory. The wiper positions are controlled by individual Up/Down interfaces. A potentiometer is implemented by a resistor array composed of 31 resistive elements and a wiper switching network. The position of each wiper element is controlled by a set of independent CS, U/D, and INC inputs. The position of the wiper can be stored in nonvolatile memory and then be recalled upon a subsequent power-up operation. Each potentiometer is connected as a three-terminal variable resistor and can be used in a wide variety of applications including:

  • Bias and Gain control
  • LCD Contrast Adjustment

当前筛选条件