| CAD 模型: | View CAD Model |
| Pkg. Type: | DFN |
| Pkg. Code: | LKV |
| Lead Count (#): | 10 |
| Pkg. Dimensions (mm): | 3.00 x 3.00 x 0.90 |
| Pitch (mm): | 0.5 |
| Moisture Sensitivity Level (MSL) | 2 |
| Pb (Lead) Free | Yes |
| RoHS (ZL1505ALNFT6) | 下载 |
| ECCN (US) | |
| HTS (US) |
| Lead Count (#) | 10 |
| Carrier Type | Reel |
| Moisture Sensitivity Level (MSL) | 2 |
| Pb (Lead) Free | Yes |
| Pb Free Category | Pb-Free 100% Matte Tin Plate w/Anneal-e3 |
| Temp. Range (°C) | -40 to +125°C |
| Length (mm) | 3 |
| MOQ | 6000 |
| No Load IS (Max) | 0.8 |
| Output Per Driver LGATE Source|Sink | 3|3 |
| Output Per Driver UGATE Source|Sink | 4|5 |
| Parametric Category | Multiphase DC/DC Switching Controllers |
| Pitch (mm) | 0.5 |
| Pkg. Dimensions (mm) | 3.0 x 3.0 x 0.90 |
| Pkg. Type | DFN |
| Qualification Level | Standard |
| Thickness (mm) | 0.9 |
| VDRIVE (V) (V) | 7.5 - 7.5 |
| VIN/VPWM (Max) | 5 |
| Width (mm) | 3 |
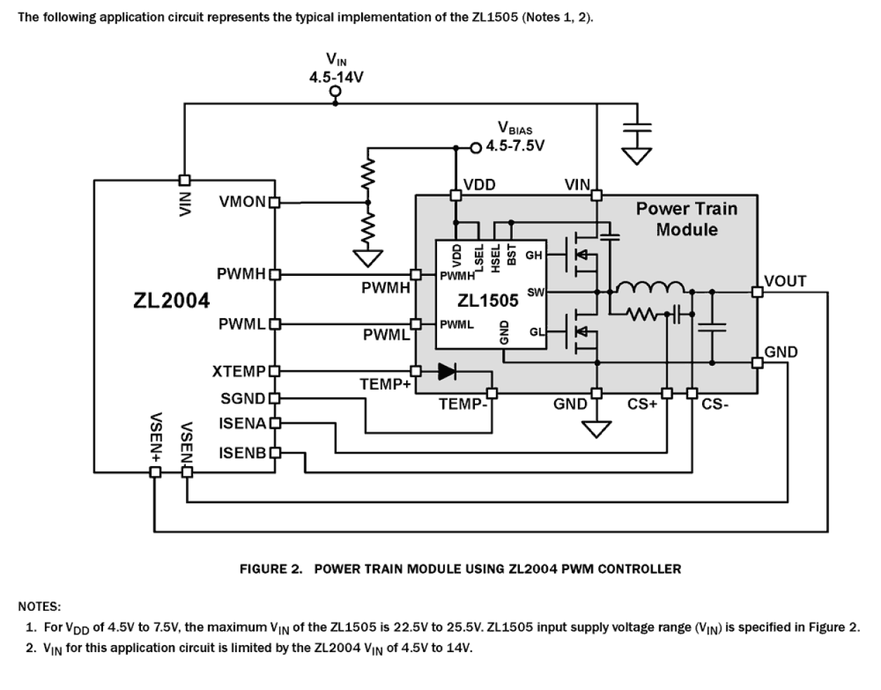
The ZL1505 is an integrated high-speed, high-current N-channel MOSFET driver for synchronous step-down DC/DC conversion applications. When used with Zilker Labs Digital- DC™ PWM controllers, the ZL1505 enables dynamically adaptive dead-time control that optimizes efficiency under all operating conditions. A dual input PWM configuration enables this efficiency optimization while minimizing complexity within the driver. Operating from a 4. 5V to 7. 5V input, the ZL1505 combines a 5A, 0. 5W low-side driver and a 3A, 0. 8W high-side driver to support high step-down buck applications. A unique adjustable gate drive current scheme allows the user to adjust the drive current on both drivers to optimize performance for a wide rage of input/output voltages, load currents, power MOSFETs and switching frequencies up to 1. 4MHz. An integrated 30V bootstrap Schottky diode is used to charge the external bootstrap capacitor. An internal watchdog circuit prevents excessive shoot-through currents and protects the external MOSFET switches. The ZL1505 is specified over a wide -40°C to +125°C junction temperature range and is available in an exposed pad DFN-10 package.