特性
- True Dual-Port allows simultaneous reads of the same memory location
- Separate upper-byte and lower-byte control for multiplexed bus compatibility
- Interrupt Flag
- On-chip port arbitration logic
- Full on-chip hardware support of semaphore signaling between ports
- Fully asynchronous operation from either port
- Battery backup operation—2V data retention
- TTL-compatible, single 5V (±10%) power supply
- Available in 100-pin TQFP package
- Industrial temperature range (–40C to +85C) is available
描述
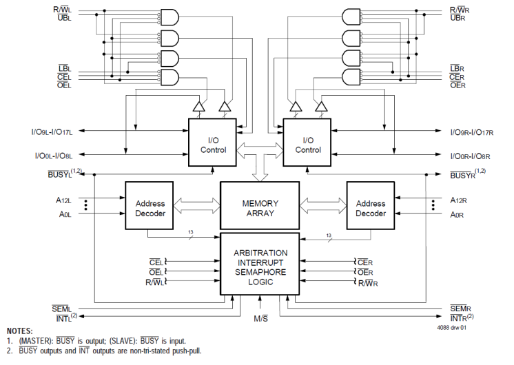
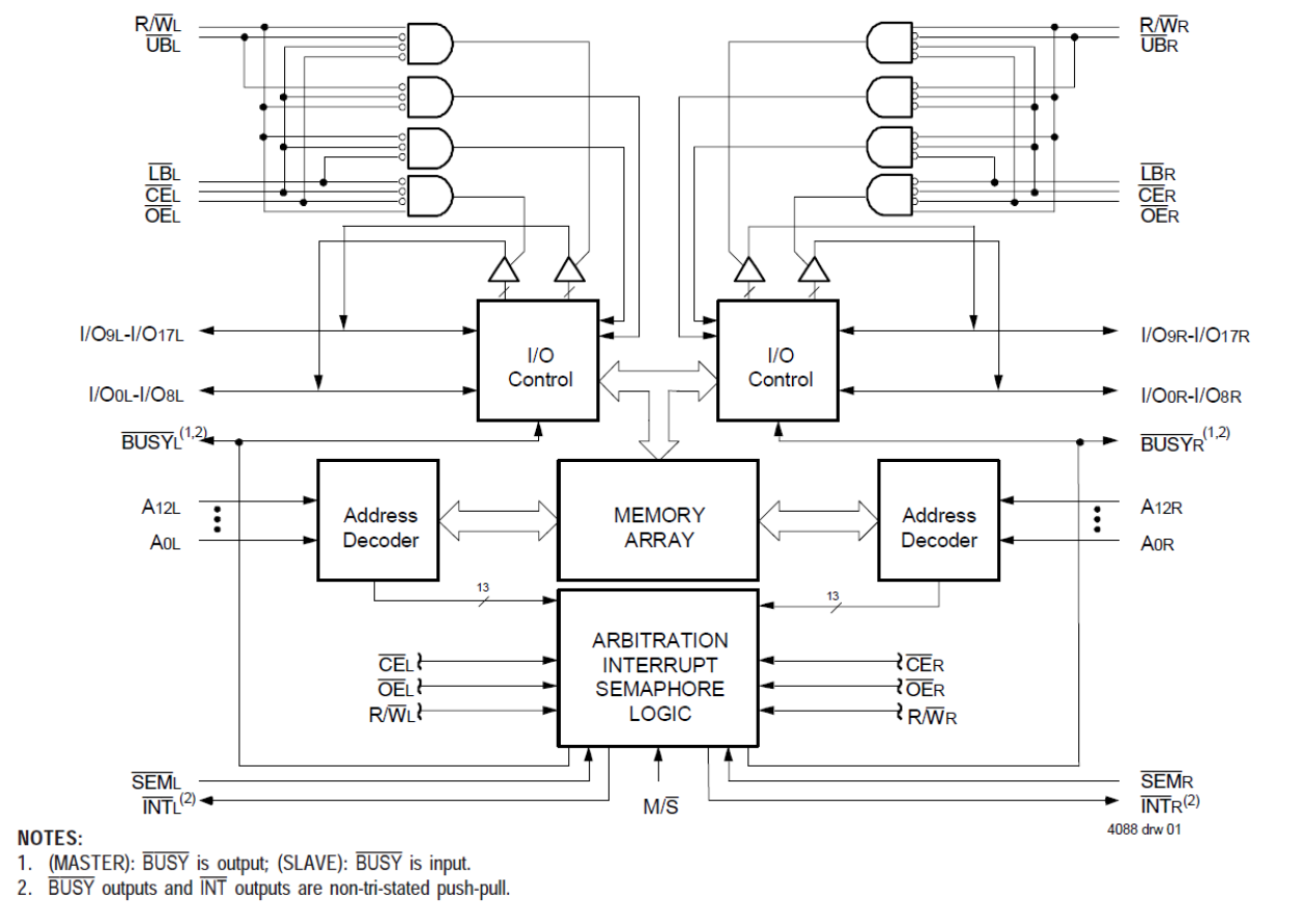
The 7035 is a high-speed 8K x 18 Dual-Port Static RAM designed to be used as a stand-alone 144K-bit Dual-Port RAM or as a combination MASTER/SLAVE Dual-Port RAM for 36-bit or more word systems. This MASTER/SLAVE approach in 36-bit or wider memory system applications results in full-speed, error-free operation without the need for additional discrete logic. An automatic power down feature controlled by Chip Enable (CE) permits the on-chip circuitry of each port to enter a very low standby power mode.
产品参数
| 属性 | 值 |
|---|---|
| Core Voltage (V) | 5 |
| Bus Width (bits) | 18 |
| Density (Kb) | 144 |
| Pkg. Code | PNG100 |
| Interface | Async |
| I/O Type | 5.0 V TTL |
| Access Time (ns) | 15 |
| Temp. Range (°C) | 0 to 70°C |
| Architecture | Dual-Port |
| Organization | 8K x 18 |
| Function | Busy, Interrupt, Master, Semaphore, Slave |
封装选项
| Pkg. Type | Pkg. Dimensions (mm) | Lead Count (#) | Pitch (mm) |
|---|---|---|---|
| TQFP | 14.0 x 14.0 x 1.4 | 100 | 0.5 |
当前筛选条件
加载中