跳转到主要内容
瑞萨电子 (Renesas Electronics Corporation)

特性

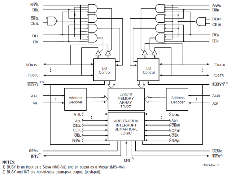
  • True Dual-Ported memory cells which allow simultaneous access of the same memory location
  • Separate upper-byte and lower-byte control for bus matching capability
  • Dual chip enables allow for depth expansion without external logic
  • 70V27 easily expands data bus width to 32 bits or more
  • Busy and Interrupt Flags
  • On-chip port arbitration logic
  • Full on-chip hardware support of semaphore signaling between ports
  • Fully asynchronous operation from either port
  • LVTTL-compatible, single 3.3V (±0.3V) power supply
  • Available in 100-pin TQFP and 144-pin fpBGA packages
  • Industrial temperature range (-40C to +85C) is available

描述

The 70V27 is a high-speed 32K x 16 Dual-Port Static RAM designed to be used as a stand-alone Dual-Port RAM or as a combination MASTER/SLAVE Dual-Port RAM for 32-bit or wider memory system applications resulting in full-speed, error-free operation without the need for additional discrete logic. An automatic power down feature controlled by the chip enables (CE0 and CE1) permits the on-chip circuitry of each port to enter a very low standby power mode.

产品参数

属性
Core Voltage (V)3.3
Bus Width (bits)16
Density (Kb)512
Pkg. CodePNG100
InterfaceAsync
I/O Type3.3 V LVTTL
Access Time (ns)15, 20
Temp. Range (°C)-40 to 85°C, 0 to 70°C
ArchitectureDual-Port
Organization32K x 16
FunctionBusy, Interrupt, Master, Semaphore, Slave

封装选项

Pkg. TypePkg. Dimensions (mm)Lead Count (#)Pitch (mm)
TQFP14.0 x 14.0 x 1.41000.5

当前筛选条件