跳转到主要内容
2K x 8 Dual-Port RAM

封装信息

CAD 模型:View CAD Model
Pkg. Type:SB
Pkg. Code:SB48
Lead Count (#):48
Pkg. Dimensions (mm):61.72 x 15.24 x 3.3
Pitch (mm):2.54

环境和出口类别

Pb (Lead) FreeNo
Moisture Sensitivity Level (MSL)1
ECCN (US)
HTS (US)

产品属性

Lead Count (#)48
Pb (Lead) FreeNo
Carrier TypeTube
Moisture Sensitivity Level (MSL)1
Access Time (ns)35
ArchitectureDual-Port
Bus Width (bits)8
Core Voltage (V)5
Density (Kb)16
FunctionBusy, Slave
I/O Type5.0 V TTL
InterfaceAsync
Length (mm)61.72
MOQ40
Organization2K x 8
Package Area (mm²)940.6
Pb Free Categorye0
Pitch (mm)2.54
Pkg. Dimensions (mm)61.72 x 15.24 x 3.3
Pkg. TypeSB
Qty. per Carrier (#)8
Qty. per Reel (#)0
Requires Terms and ConditionsDoes not require acceptance of Terms and Conditions
Tape & ReelNo
Temp. Range (°C)0 to 70°C
Thickness (mm)3.3
Width (mm)15.24
已发布No

描述

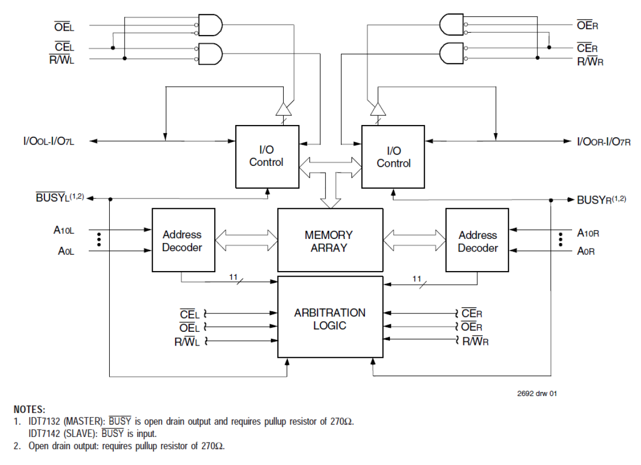
The 7142 is a high-speed 2K x 8 Dual-Port Static RAM designed to be used as a "SLAVE" Dual-Port RAM together with the 7132 "MASTER" Dual-Port in 16-bit-or-more word width systems which would result in full-speed, error free operation without the need for additional discrete logic. An automatic power down feature, controlled by CE, permits the on chip circuitry of each port to enter a very low standby power mode. Military grade product in compliance with MIL-PRF-38535 QML is available.