特性
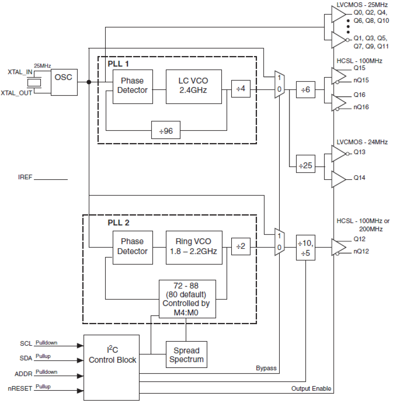
- Two LVCMOS/LVTTL single-ended outputs at 24MHz
Twelve LVCMOS/LVTTL single-ended outputs at 25MHz
Two differential HCSL output pairs at 100MHz
One differential HCSL output pair at 100MHz or 200MHz - Crystal oscillator interface: 25MHz
- PLL1 – VCO: 2.4GHz
- PLL2 – VCO range: 1.8GHz to 2.2GHz
±10% frequency margining in 1.25% steps
Selectable spread spectrum – downspread at -0.5% - I²C control interface with address configuration pin and with default loading on release of active low reset
- 3.3V supply voltage
- -40 °C to 85 °C ambient operating temperature
- Available in a lead-free (RoHS 6) package
描述
The 844S2416 is a 17-output, dual-PLL frequency synthesizer optimized to generate a variety of clocks for Ethernet, USB, and other interfaces. Using a 25MHz 18pF parallel resonant crystal, the device will generate 24MHz, 25MHz, 100MHz, and 200MHz clocks with mixed HCSL and LVCMOS/LVTTL levels. The 844S2416 is packaged in a 56-pin VFQFN package that is optimum for applications with space limitations.
产品参数
| 属性 | 值 |
|---|---|
| App Jitter Compliance | PCIe Gen1, PCIe Gen2, PCIe Gen3 |
| Outputs (#) | 17 |
| Output Type | HCSL, LVCMOS |
| Output Freq Range (MHz) | 100 - 100, 200 - 200, 24 - 24, 25 - 25 |
| Input Freq (MHz) | 25 - 25 |
| Inputs (#) | 1 |
| Input Type | Crystal |
| Output Banks (#) | 4 |
| Core Voltage (V) | 3.3 |
| Output Voltage (V) | 3.3 |
| Product Category | FemtoClock, General Purpose Clocks, Processor Clock Generators |
封装选项
| Pkg. Type | Pkg. Dimensions (mm) | Lead Count (#) | Pitch (mm) |
|---|---|---|---|
| VFQFPN | 8.0 x 8.0 x 0.85 | 56 | 0.5 |
当前筛选条件