| CAD 模型: | View CAD Model |
| Pkg. Type: | VFQFPN |
| Pkg. Code: | NLG32 |
| Lead Count (#): | 32 |
| Pkg. Dimensions (mm): | 5.0 x 5.0 x 0.9 |
| Pitch (mm): | 0.5 |
| Moisture Sensitivity Level (MSL) | 3 |
| Pb (Lead) Free | Yes |
| ECCN (US) | EAR99 |
| HTS (US) | 8542.39.0090 |
| Lead Count (#) | 32 |
| Carrier Type | Tray |
| Moisture Sensitivity Level (MSL) | 3 |
| Qty. per Reel (#) | 0 |
| Qty. per Carrier (#) | 490 |
| Pb (Lead) Free | Yes |
| Pb Free Category | e3 Sn |
| Temp. Range (°C) | -40 to 85°C |
| Advanced Features | Reference Output |
| C-C Jitter Max P-P (ps) | 8 |
| Core Voltage (V) | 3.3 |
| Feedback Input | No |
| Input Freq (MHz) | 10 - 10 |
| Input Type | Crystal, LVPECL, LVDS |
| Inputs (#) | 2 |
| Length (mm) | 5 |
| MOQ | 490 |
| Output Banks (#) | 5 |
| Output Freq Range (MHz) | 25 - 156.25 |
| Output Type | LVDS, LVPECL |
| Output Voltage (V) | 3.3 |
| Outputs (#) | 5 |
| Package Area (mm²) | 25 |
| Period Jitter Max P-P (ps) | 2.7 |
| Period Jitter Typ P-P (ps) | 1.95 |
| Phase Jitter Typ RMS (ps) | 0.336 |
| Pitch (mm) | 0.5 |
| Pkg. Dimensions (mm) | 5.0 x 5.0 x 0.9 |
| Pkg. Type | VFQFPN |
| Product Category | FemtoClock, Low Jitter Clocks (<700 fs RMS) |
| Prog. Clock | No |
| Reference Output | Yes |
| Requires Terms and Conditions | Does not require acceptance of Terms and Conditions |
| Spread Spectrum | No |
| Tape & Reel | No |
| Thickness (mm) | 0.9 |
| Width (mm) | 5 |
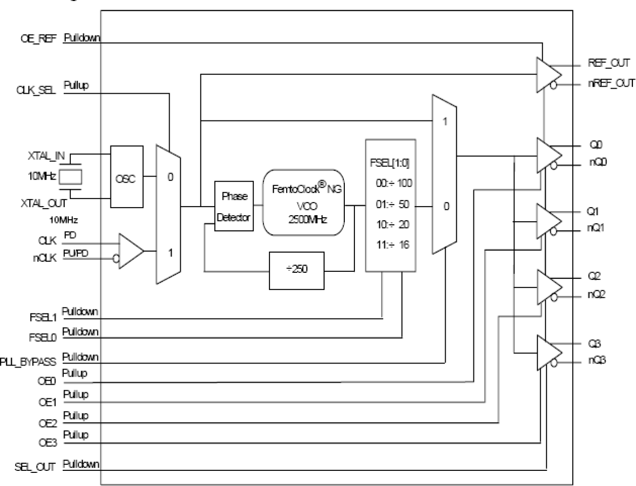
The 849N2505I is a clock synthesizer designed for wireless infrastructure applications. The device generates a selectable 25MHz, 50MHz, 125MHz or 156.25MHz clock signal from a 10MHz input with excellent phase jitter performance. The device uses IDT's fourth generation FemtoClock® NG technology for an optimum of high clock frequency and low phase noise performance, combined with a low power consumption and high power supply noise rejection. The device supports a 3.3V voltage supply and is packaged in a small, lead-free (RoHS 6) 32-lead VFQFN package. The extended temperature range supports wireless infrastructure, telecommunication and networking end equipment requirements.