| CAD 模型: | View CAD Model |
| Pkg. Type: | SBDIP |
| Pkg. Code: | HDP |
| Lead Count (#): | 8 |
| Pkg. Dimensions (mm): | 9.91 x 7.49 x 2.41 |
| Pitch (mm): | 2.54 |
| Moisture Sensitivity Level (MSL) | Not Applicable |
| Pb (Lead) Free | Yes |
| ECCN (US) | 9A515.e.1 |
| HTS (US) | 8542.33.0001 |
| Pkg. Type | SBDIP |
| Lead Count (#) | 8 |
| Carrier Type | Tray |
| Moisture Sensitivity Level (MSL) | Not Applicable |
| DLA SMD | 5962F9683001VPC |
| Pb (Lead) Free | Yes |
| Pb Free Category | Gold Plate over compliant Undercoat-e4 |
| MOQ | 25 |
| Temp. Range (°C) | -55 to +125°C |
| CAGE code | 34371 |
| AVOL (dB) | 92 |
| Bandwidth (MHz) | 300 |
| CMRR (dB) | 44 |
| Channels (#) | 1 |
| DSEE (MeV·cm2/mg) | DSEE Free (DI) |
| Die Sale Availability? | No |
| Flow | RH Hermetic |
| IBIAS (max) (nA) | 25000 |
| IOUT (Max) (mA) | 28 |
| IOUT (mA) | 28 |
| IS per Amp (mA) | 6.5 |
| Length (mm) | 9.9 |
| Noise VN (nV/√Hz) | 3.5 |
| Offset Voltage (Max) (mV) | 10 |
| Offset Voltage (max) | 10mV |
| PROTO Availability? | Yes |
| PSRR (db) | 46 |
| Pitch (mm) | 2.5 |
| Pkg. Dimensions (mm) | 9.9 x 7.5 x 2.41 |
| Qualification Level | Class V |
| Rail-to-Rail Input | No |
| Rail-to-Rail Input/Output | No |
| Rail-to-Rail Output | No |
| Rating | Space |
| SMD URL | 5962-96830 |
| Slew Rate (V/µs) | 1000 |
| Supply Voltage (max) (V) | 5 - 5 |
| Supply Voltage (min) (V) | -5 - -5 |
| Supply Voltage Vs Range | 10-10 |
| TID HDR (krad(Si)) | 300 |
| Thickness (mm) | 2.41 |
| VS (Max) (V) | 10 |
| VS (Min) (V) | 10 |
| Width (mm) | 7.5 |
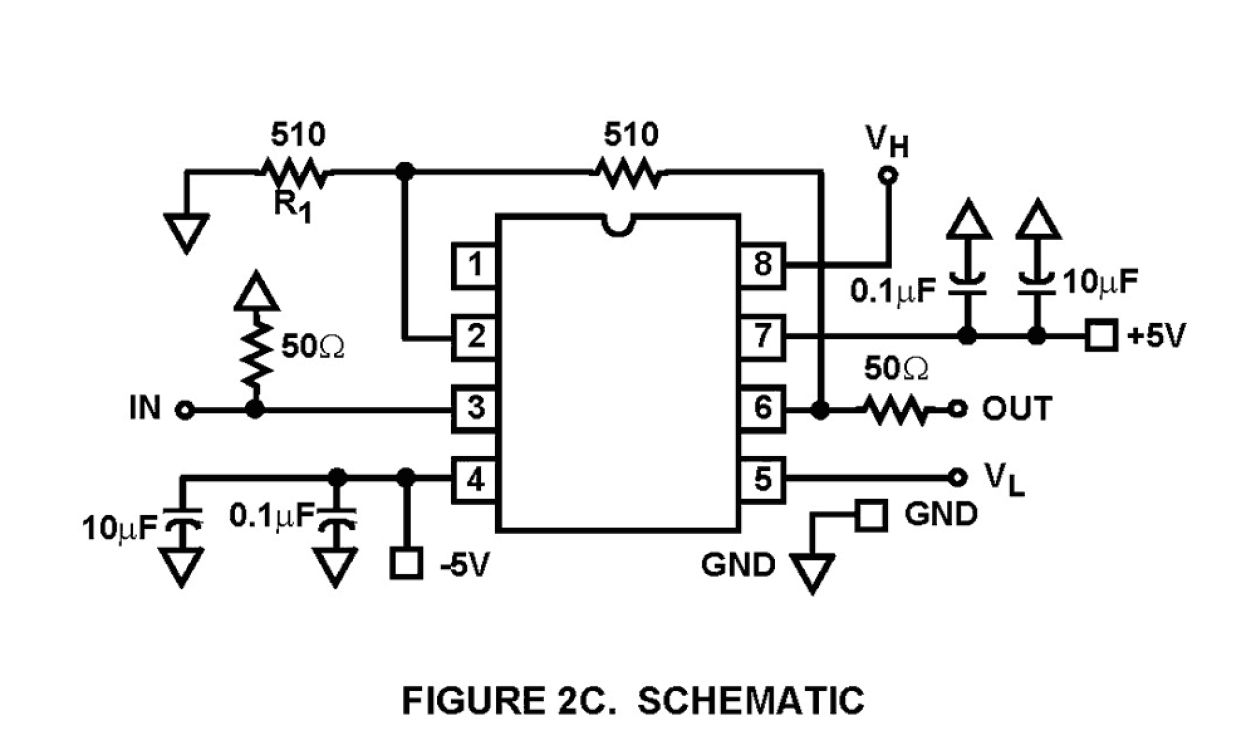
The HS-1145RH is a High-Speed, low power current feedback amplifier built with Intersil's proprietary complementary bipolar UHF-1 (DI bonded wafer) process. These devices are QML approved and are processed and screened in full compliance with MIL-PRF-38535. This amplifier features a TTL/CMOS compatible disable control, pin 8, which when pulled low, reduces the supply current and forces the output into a high impedance state. This allows easy implementation of simple, low power video switching and routing systems. Component and composite video systems also benefit from this op amp's excellent gain flatness, and good differential gain and phase specifications. Multiplexed A/D applications will also find the HS-1145RH useful as the A/D driver/multiplexer. Specifications for Rad Hard QML devices are controlled by the Defense Supply Center in Columbus (DSCC). The SMD numbers listed here must be used when ordering. Detailed Electrical Specifications for these devices are contained in SMD 5962-96830.