跳转到主要内容
瑞萨电子 (Renesas Electronics Corporation)

特性

  • Electrically Screened to SMD # 5962-96830
  • QML Qualified per MIL-PRF-38535 Requirements
  • Low Supply Current 5.9mA (Typ)
  • Wide -3dB Bandwidth 360MHz (Typ)
  • High Slew Rate 1000V/µs (Typ)
  • Excellent Gain Flatness (to 50MHz) ±0.07dB (Typ)
  • Excellent Differential Gain 0.02% (Typ)
  • Excellent Differential Phase 0.03 Degrees (Typ)
  • High Output Current 60mA (Typ)
  • Output Enable / Disable Time 180ns/35ns (Typ)
  • TID Rad Hard Assurance (RHA) testing
    • HDR (50-300rad(Si)/s): 300krad(Si)
  • Latch Up None (DI Technology)

描述

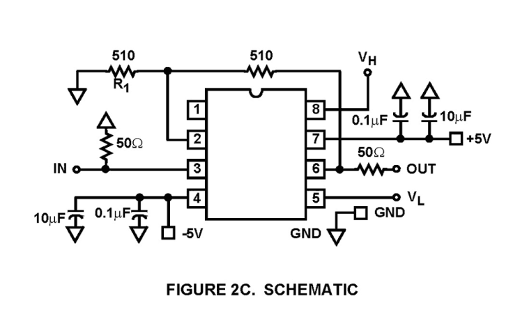
The HS-1145RH is a High-Speed, low power current feedback amplifier built with Intersil's proprietary complementary bipolar UHF-1 (DI bonded wafer) process. These devices are QML approved and are processed and screened in full compliance with MIL-PRF-38535. This amplifier features a TTL/CMOS compatible disable control, pin 8, which when pulled low, reduces the supply current and forces the output into a high impedance state. This allows easy implementation of simple, low power video switching and routing systems. Component and composite video systems also benefit from this op amp's excellent gain flatness, and good differential gain and phase specifications. Multiplexed A/D applications will also find the HS-1145RH useful as the A/D driver/multiplexer. Specifications for Rad Hard QML devices are controlled by the Defense Supply Center in Columbus (DSCC). The SMD numbers listed here must be used when ordering. Detailed Electrical Specifications for these devices are contained in SMD 5962-96830.

产品参数

属性
RatingSpace
AVOL (dB)92
Bandwidth (MHz)300
Channels (#)1
CMRR (dB)44
IOUT (mA)28
IS per Amp (mA)6.5
Noise VN (nV/√Hz)3.5
Offset Voltage (max)10mV
PSRR (db)46
Rail-to-Rail Input/OutputNo
Slew Rate (V/µs)1000
Supply Voltage (min) (V)-5 - -5
Supply Voltage (max) (V)5 - 5
Temp. Range (°C)-55 to +125°C
TID HDR (krad(Si))300
DSEE (MeV·cm2/mg)DSEE Free (DI)
FlowRH Hermetic
Qualification LevelClass V, EM
Die Sale Availability?No
PROTO Availability?Yes

封装选项

Pkg. TypePkg. Dimensions (mm)Lead Count (#)Pitch (mm)
DIE
SBDIP9.9 x 7.5 x 2.4182.5

应用

  • Multiplexed Flash A/D Driver RGB Multiplexers / Preamps Video Switching and Routing Pulse and Video Amplifiers Wideband Amplifiers RF/IF Signal Processing Imaging Systems

当前筛选条件