跳转到主要内容
瑞萨电子 (Renesas Electronics Corporation)

特性

  • Pin Compatible to Maxim DS1337
  • Functionally Equivalent to Maxim DS1337
  • Real-Time Clock/Calendar
  • Tracks Time in Hours, Minutes, and Seconds
  • Day of the Week, Date, Month, and Year
  • Dual Interrupts for Frequency Output and Alarm interrupts
  • Four Selectable Frequency Outputs
  • Two Alarms
  • Settable to the Second, Minute, Hour, Day of the Week, and Date
  • I2C Interface
  • 400kHz Data Transfer Rate
  • Small Package Options
  • 8 Ld 2mmx2mm UTDFN
  • 8 Ld MSOP
  • 8 Ld SOIC
  • Pb-Free (RoHS Compliant)

描述

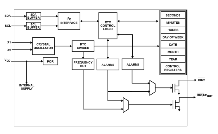
The ISL12057 device is a low-power, real-time clock that is pin compatible and functionally equivalent to Maxim DS1337 with clock/calendar and alarm function. The oscillator uses an external, low-cost 32. 768kHz crystal with 6pF load capacitance. The real-time clock tracks time with separate registers for hours, minutes, and seconds. The device has calendar registers for date, month, year, and day of the week. The calendar is accurate through 2099, with automatic leap year correction.

产品参数

属性
InterfaceI2C
Alarms (#)2
Supply Voltage Vcc (Min) (V)1.4
Battery BackupNo
Battery SealNo
CPU Supervisory Function PORYes
Crystal Frequency TrimmingNo
Frequency Out PinYes
Time Keeping Current (µA)0.5
Selectable Frequency Output4
Product CategoryReal-Time Clocks, Real-Time Clocks

封装选项

Pkg. TypePkg. Dimensions (mm)Lead Count (#)Pitch (mm)
MSOP3.0 x 3.0 x 0.0080.7
SOICN4.9 x 3.9 x 0.0081.3

应用

  • Utility Meters
  • HVAC Equipment
  • Audio/Video Components
  • Set-Top Box/Television
  • Modems
  • Network Routers, Hubs, Switches, Bridges
  • Cellular Infrastructure Equipment
  • Fixed Broadband Wireless Equipment
  • Pagers/PDA
  • Point Of Sale Equipment
  • Test Meters/Fixtures
  • Office Automation (Copiers, Fax)
  • Home Appliances
  • Computer Products
  • Other Industrial/Medical/Automotive

当前筛选条件