| CAD 模型: | View CAD Model |
| Pkg. Type: | SOICN |
| Pkg. Code: | MBI |
| Lead Count (#): | 8 |
| Pkg. Dimensions (mm): | 4.9 x 3.9 x 0.00 |
| Pitch (mm): | 1.3 |
| Pb (Lead) Free | No |
| ECCN (US) | EAR99 |
| HTS (US) | 8542.39.0090 |
| Moisture Sensitivity Level (MSL) |
| Lead Count (#) | 8 |
| Carrier Type | Tube |
| Pitch (mm) | 1.3 |
| Pkg. Dimensions (mm) | 4.9 x 3.9 x 0.00 |
| Pb (Lead) Free | No |
| Temp. Range (°C) | -40 to +125°C |
| Advanced Features | EEPROM autostore mode and shutdown mode |
| Channels (#) | 1 |
| End-to-End Temperature Coefficient (ppm/°C) | 80 |
| Interface | Pushbutton |
| Length (mm) | 4.9 |
| MOQ | 1960 |
| Memory Type | Nonvolatile |
| Middlepoint Ratiometric Tempco | 25 |
| Pkg. Type | SOICN |
| Qualification Level | Standard |
| Resistance Options (kΩ) | 10 |
| Resistance Taper | Linear |
| Single Supply Voltage Range (V) | 5.5 |
| Supply Current Icc (µA) | 0.6 |
| Supply Voltage Vcc (Min) (V) | 2.7 |
| Supply Voltage Vcc Range | 2.7 to 5.5 |
| Taps (#) | 16 |
| VL Terminal Voltage (Max) (V) | 5.5 |
| Width (mm) | 3.9 |
| Wiper Current (mA) | 3 |
| Wiper Resistance (ohms) | 130 |
Support is limited to customers who have already adopted these products.
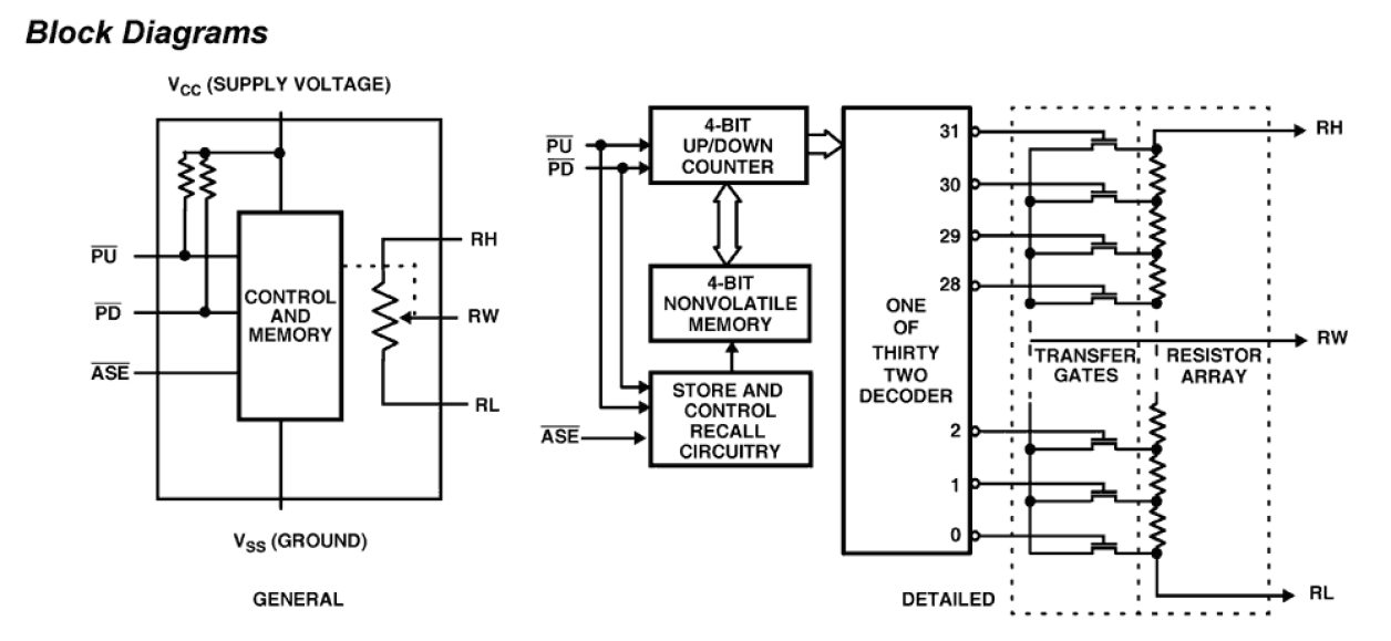
The Intersil ISL22512 is a three-terminal digitally-controlled potentiometer (XDCP) implemented by a resistor array composed of 15 resistive elements and a wiper switching network. The ISL22512 features a push button control, a shutdown mode, as well as an industry-leading µTQFN package. The push button control has individual PU and PD inputs for adjusting the wiper. To eliminate redundancy, the wiper position will automatically increment or decrement if one of these inputs is held longer than one second. Forcing both PU and PD low for more than two seconds activates shutdown mode. Shutdown mode disconnects the top of the resistor chain and moves the wiper to the lowest position, minimizing power consumption. The three terminals accessing the resistor chain naturally configure the ISL22512 as a voltage divider. A rheostat is easily formed by floating an end terminal or connecting it to the wiper.