跳转到主要内容
瑞萨电子 (Renesas Electronics Corporation)

特性

  • Two potentiometers per package
  • 256 resistor taps
  • 10kΩ 50kΩ or 100kΩ total resistance
  • I2C serial interface
  • No additional level translator for low bus supply
  • Three address pins allow up to eight devices per bus
  • Maximum supply current without serial bus activity (standby)
  • 3µA @ VCC and VLOGIC = 5V
  • 1.7µA @ VCC and VLOGIC = 1.7V
  • Shutdown Mode
  • Forces the DCP into an end-to-end open circuit and RWi is connected to RLi internally
  • Reduces power consumption by disconnecting the DCP resistor from the circuit
  • Power supply
  • VCC = 1.7V to 5.5V analog power supply
  • VLOGIC = 1.2V to 5.5V I2C bus/logic power supply
  • Wiper resistance: 70Ω typical @ VCC = 3.3V
  • Power-on preset to mid-scale (128 tap position)
  • Extended industrial temperature range: -40°C to +125°C
  • 14 Ld TSSOP or 16 Ld µTQFN packages
  • Pb-free (RoHS Compliant)

描述

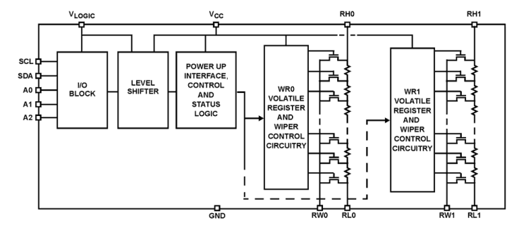
The ISL23325 is a volatile, low voltage, low noise, low power, 256-Tap, dual digitally controlled potentiometer (DCP) with an I2C Bus™ interface. It integrates two DCP cores, wiper switches and control logic on a monolithic CMOS integrated circuit. Each digitally controlled potentiometer is implemented with a combination of resistor elements and CMOS switches. The position of the wipers are controlled by the user through the I2C bus interface. Each potentiometer has an associated volatile Wiper Register (WRi, i = 0, 1) that can be directly written to and read by the user. The contents of the WRi controls the position of the wiper. When powered on, the wiper of each DCP will always commence at mid-scale (128 tap position). The low voltage, low power consumption, and small package of the ISL23325 make it an ideal choice for use in battery operated equipment. In addition, the ISL23325 has a VLOGIC pin allowing down to 1. 2V bus operation, independent from the VCC value. This allows for low logic levels to be connected directly to the ISL23325 without passing through a voltage level shifter. The DCP can be used as a three-terminal potentiometer or as a two-terminal variable resistor in a wide variety of applications including control, parameter adjustments, and signal processing.

产品参数

属性
Resistance TaperLinear
Taps (#)256
Resistance Options (kΩ)10, 100
Channels (#)2
InterfaceI2C
Memory TypeVolatile
Supply Voltage Vcc Range1.7 to 5.5
Supply Current Icc (µA)3
Single Supply Voltage Range (V)5.5
Wiper Current (mA)3
Wiper Resistance (ohms)70
VL Terminal Voltage (Max) (V)5.5
End-to-End Temperature Coefficient (ppm/°C)45, 125
Middlepoint Ratiometric Tempco8, 4, 2.3
Advanced FeaturesVLOGIC 1.2V to 5.5V; multiple device per bus
Qualification LevelStandard

封装选项

Pkg. TypePkg. Dimensions (mm)Lead Count (#)Pitch (mm)
TSSOP5.0 x 4.4 x 0.00140.7
uTQFN2.6 x 1.8 x 0.00160.4

应用

  • Power supply margining
  • Trimming sensor circuits
  • Gain adjustment in battery powered instruments
  • RF power amplifier bias compensation

当前筛选条件