| CAD 模型: | View CAD Model |
| Pkg. Type: | TSSOP |
| Pkg. Code: | MPX |
| Lead Count (#): | 20 |
| Pkg. Dimensions (mm): | 6.50 x 4.39 x 0.90 |
| Pitch (mm): | 0.65 |
| Pb (Lead) Free | No |
| ECCN (US) | EAR99 |
| HTS (US) | 8542.39.0090 |
| Moisture Sensitivity Level (MSL) |
| Lead Count (#) | 20 |
| Carrier Type | Reel |
| Pitch (mm) | 0.7 |
| Pkg. Dimensions (mm) | 6.5 x 4.4 x 0.90 |
| Pb (Lead) Free | No |
| Temp. Range (°C) | -40 to +125°C |
| Advanced Features | VLOGIC 1.2V to 5.5V; Daisy Chainable to minimize # I/0 pins on microcontroller |
| Channels (#) | 4 |
| End-to-End Temperature Coefficient (ppm/°C) | 125 |
| Interface | SPI |
| Length (mm) | 6.5 |
| MOQ | 1000 |
| Memory Type | Volatile |
| Middlepoint Ratiometric Tempco | 2.3, 4, 8 |
| Pkg. Type | TSSOP |
| Qualification Level | Standard |
| Resistance Options (kΩ) | 10 |
| Resistance Taper | Linear |
| Single Supply Voltage Range (V) | 5.5 |
| Supply Current Icc (µA) | 5 |
| Supply Voltage Vcc (Min) (V) | 1.7 |
| Supply Voltage Vcc Range | 1.7 to 5.5 |
| Taps (#) | 256 |
| Thickness (mm) | 0.9 |
| VL Terminal Voltage (Max) (V) | 5.5 |
| Width (mm) | 4.4 |
| Wiper Current (mA) | 3 |
| Wiper Resistance (ohms) | 70 |
Support is limited to customers who have already adopted these products.
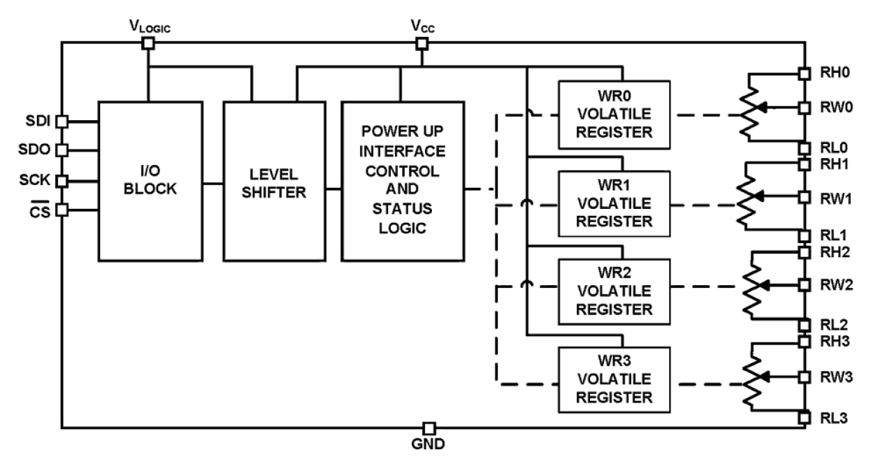
The ISL23445 is a volatile, low voltage, low noise, low power, 256 tap, quad digitally controlled potentiometer (DCP) with an SPI Bus™ interface. It integrates four DCP cores, wiper switches and control logic on a monolithic CMOS integrated circuit. Each digitally controlled potentiometer is implemented with a combination of resistor elements and CMOS switches. The position of the wipers are controlled by the user through the SPI bus interface. Each potentiometer has an associated volatile Wiper Register (WRi, i = 0, 1, 2, 3) that can be directly written to and read by the user. The contents of the WRi controls the position of the wiper. When powered on, the wiper of each DCP will always commence at mid-scale (128 tap position). The low voltage, low power consumption, and small package of the ISL23445 make it an ideal choice for use in battery operated equipment. In addition, the ISL23445 has a VLOGIC pin allowing down to 1. 2V bus operation, independent from the VCC value. This allows for low logic levels to be connected directly to the ISL23445 without passing through a voltage level shifter. The DCP can be used as a three-terminal potentiometer or as a two-terminal variable resistor in a wide variety of applications including control, parameter adjustments, and signal processing.